Запчасти Komatsu PC15-2 ПОВОРОТН. И РУКОЯТЬ МЕХ-М УПРАВЛ-Я (/) (ДЛЯ -WAY УПРАВЛ-Е) СИСТЕМА УПРАВЛЕНИЯ И ОСНОВНАЯ РАМА

Схема запчастей Komatsu PC15-2 - ПОВОРОТН. И РУКОЯТЬ МЕХ-М УПРАВЛ-Я (/) (ДЛЯ -WAY УПРАВЛ-Е) СИСТЕМА УПРАВЛЕНИЯ И ОСНОВНАЯ РАМА
FIT
1:1
100%

Артикул

Название

Примечание

Количество

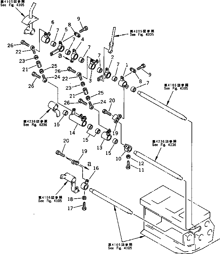
1

20C-43-12520

LEVER

2

20P-43-13180

LEVER

3

20C-43-12490

LEVER

4

20P-43-13120

LEVER

5

20P-43-13130

LEVER

6

20C-43-12390

LEVER

7

195-61-34140

BEARING

8

20N-43-43181

PLATE

9

01010-50820

BOLT

10

20C-43-12660

LEVER

11

20C-43-12360

BOLT

12

01580-10806

NUT

13

20C-43-12650

LEVER

14

20P-43-13270

LEVER

15

195-61-34140

BEARING

16

20P-43-13240

LEVER

17

20C-43-12360

BOLT

18

01580-10806

NUT

19

20W-43-12710

END

20

01010-50818

BOLT

21

20C-43-12850

BACKLE,TURN

22

20C-43-12820

END,ROD, L.H. THREAD

23

01508-40805

NUT,L.H. THREAD

24

20C-43-12810

END,ROD

25

01580-10806

NUT

26

01010-50818

BOLT

Выбрано товаров: 26