Запчасти Komatsu PC15-2 СИДЕНЬЕ ОПЕРАТОРА (ДЛЯ ЯПОН.) (ДЛЯ АЗИИ) ЧАСТИ КОРПУСА

Схема запчастей Komatsu PC15-2 - СИДЕНЬЕ ОПЕРАТОРА (ДЛЯ ЯПОН.) (ДЛЯ АЗИИ) ЧАСТИ КОРПУСА
FIT
1:1
100%

Артикул

Название

Примечание

Количество

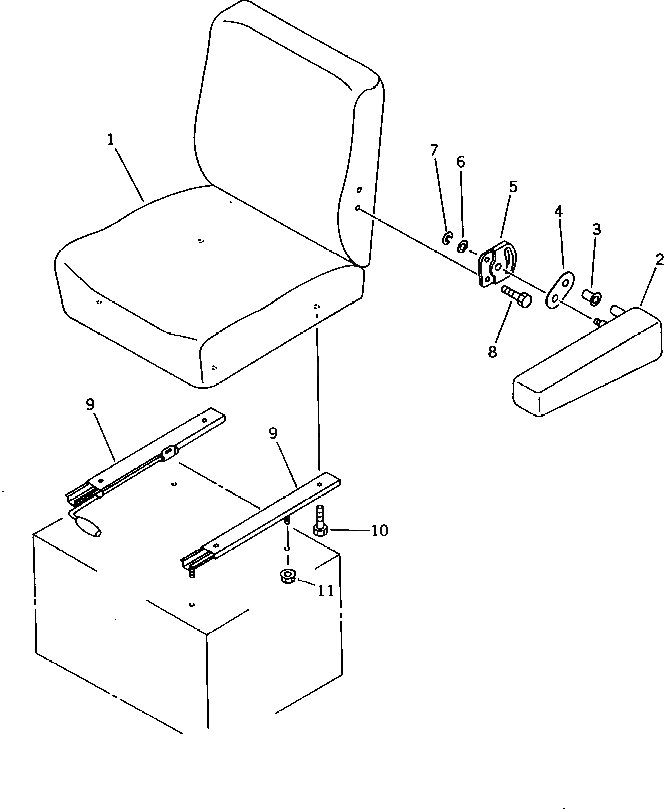
|$0

20N-57-41501

SEAT ASS'Y

|$1

20M-57-61100

SEAT

1

20M-57-61110

SEAT

2

20M-57-61120

REST,ARM

3

20M-57-61130

GUIDE

4

20M-57-61140

PLATE

5

20M-57-61150

STOPPER

6

20M-57-61160

WASHER

7

20M-57-61170

E-RING

8

20M-57-61180

BOLT

9

20N-57-41550

SLIDE

10

01010-50816

BOLT

11

01584-00806

NUT

Выбрано товаров: 13