Запчасти Komatsu PC15-2 ГИДР. НАСОС. (/) УПРАВЛ-Е РАБОЧИМ ОБОРУДОВАНИЕМ

Схема запчастей Komatsu PC15-2 - ГИДР. НАСОС. (/) УПРАВЛ-Е РАБОЧИМ ОБОРУДОВАНИЕМ
FIT
1:1
100%

Артикул

Название

Примечание

Количество

|1

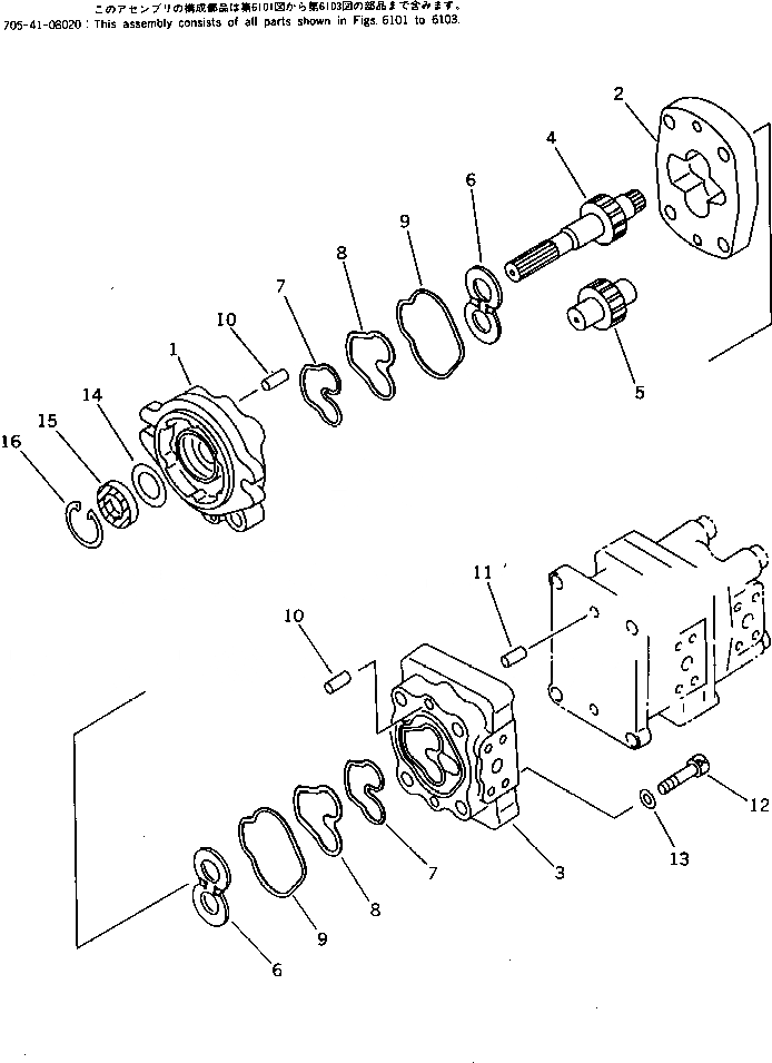
705-41-08020

PUMP ASS'Y

|1

705-41-03020

PUMP ASS'Y (SBR8A)

1

705-41-80210

BRACKET

|1

705-41-80011

BRACKET

|1

705-40-80610

BUSHING,DRIVE

|1

705-40-80620

BUSHING,DRIVEN

2

705-41-20010

CASE,GEAR

3

705-40-80311

CARRIER

|3

705-40-80610

BUSHING,DRIVE

|3

705-40-80620

BUSHING,DRIVEN

4

705-41-20340

GEAR,DRIVE

5

705-41-20510

GEAR,DRIVEN

6

705-40-80710

PLATE,SIDE

7

705-40-80730

RING,BACK-UP

8

705-40-80740

RING,SEAL

9

705-40-80630

RING,SEAL

10

04020-00820

PIN,DOWEL

11

705-67-01230

PIN,DOWEL

12

01252-31265

BOLT

13

01643-51232

WASHER

14

705-40-80870

PLATE

15

705-40-80810

SEAL,OIL

16

04065-03515

RING,SNAP

Выбрано товаров: 23