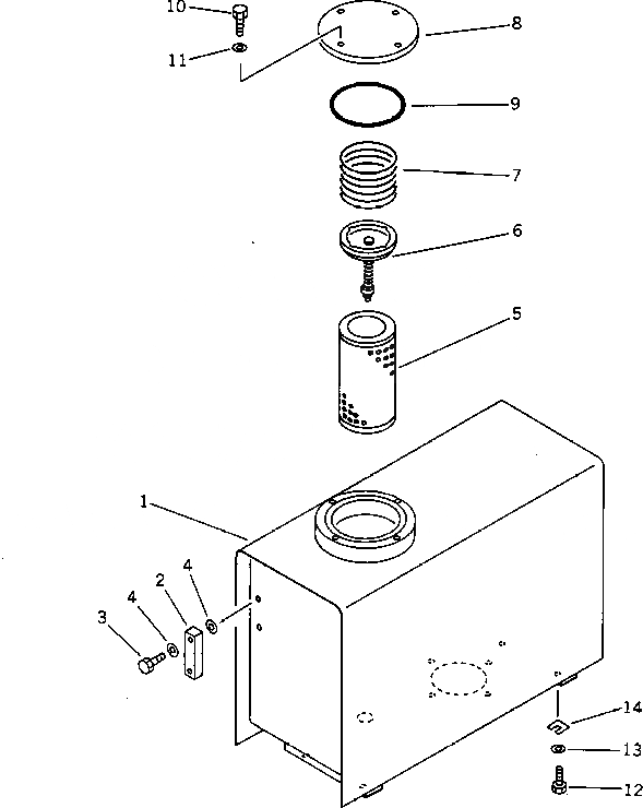
Запчасти Komatsu PC15-2A ГИДР. БАК. AND ФИЛЬТР. УПРАВЛ-Е РАБОЧИМ ОБОРУДОВАНИЕМ

Схема запчастей Komatsu PC15-2A - ГИДР. БАК. AND ФИЛЬТР. УПРАВЛ-Е РАБОЧИМ ОБОРУДОВАНИЕМ
FIT
1:1
100%

Артикул

Название

Примечание

Количество

1

20N-60-41310

TANK

2

20N-60-41350

GAUGE,OIL LEVEL

3

20N-60-41360

BOLT

4

20N-60-41370

GASKET

5

07063-01035

ELEMENT

6

125-62-21150

VALVE ASS'Y

7

125-62-21170

SPRING

8

20N-60-41320

COVER

9

07000-02120

O-RING

10

01010-50816

BOLT

11

01643-30823

WASHER

12

01010-51230

BOLT

13

01643-31232

WASHER

14

FF8733-54250

SHIM, 1.0MM

Выбрано товаров: 14