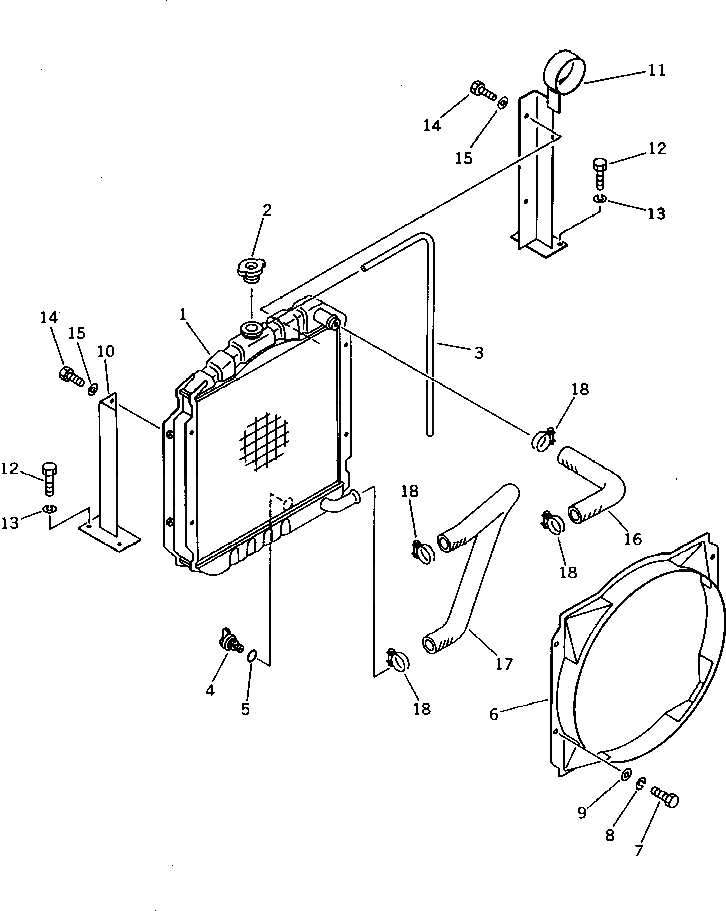
Запчасти Komatsu PC15-2A РАДИАТОР И ТРУБЫ КОМПОНЕНТЫ ДВИГАТЕЛЯ И ЭЛЕКТРИКА

Схема запчастей Komatsu PC15-2A - РАДИАТОР И ТРУБЫ КОМПОНЕНТЫ ДВИГАТЕЛЯ И ЭЛЕКТРИКА
FIT
1:1
100%

Артикул

Название

Примечание

Количество

1

20M-03-11111

CORE

2

20M-03-11130

CAP

3

07270-00870

TUBE

4

20N-03-11181

PLUG,DRAIN

5

07000-01007

O-RING

6

20N-03-41120

SHROUD

7

01010-50816

BOLT

8

01602-20825

WASHER,SPRING

9

01641-20812

WASHER

10

20P-03-12530

BRACKET,L.H.

11

20P-03-12540

BRACKET,R.H.

12

01010-51025

BOLT

13

01602-21030

WASHER,SPRING

14

01010-50816

BOLT

15

01643-30823

WASHER

16

20P-03-12110

HOSE

17

20P-03-12120

HOSE

18

07280-03826

CLAMP

Выбрано товаров: 18