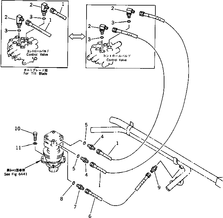
Запчасти Komatsu PC15-2A ГИДРОЛИНИЯ (МОТОР ПОВОРОТА ЛИНИЯ) (ДЛЯ НАКЛОН. ОТВАЛ) (ДЛЯ ЯПОН.) (ДЛЯ АЗИИ) УПРАВЛ-Е РАБОЧИМ ОБОРУДОВАНИЕМ

Схема запчастей Komatsu PC15-2A - ГИДРОЛИНИЯ (МОТОР ПОВОРОТА ЛИНИЯ) (ДЛЯ НАКЛОН. ОТВАЛ) (ДЛЯ ЯПОН.) (ДЛЯ АЗИИ) УПРАВЛ-Е РАБОЧИМ ОБОРУДОВАНИЕМ
FIT
1:1
100%

Артикул

Название

Примечание

Количество

1

20N-62-32330

HOSE

1

20P-62-17710

HOSE,(TILT BLADE)

2

20R-62-21121

ELBOW

2

20N-62-47750

ELBOW,(TILT BLADE)

3

07002-11823

O-RING

4

20M-62-11310

NIPPLE

5

07000-12014

O-RING

6

07102-20206

HOSE

7

20N-62-31250

NIPPLE

8

07000-12011

O-RING

9

07238-10210

CONNECTOR

10

01010-51235

BOLT

11

01643-31232

WASHER

Выбрано товаров: 13