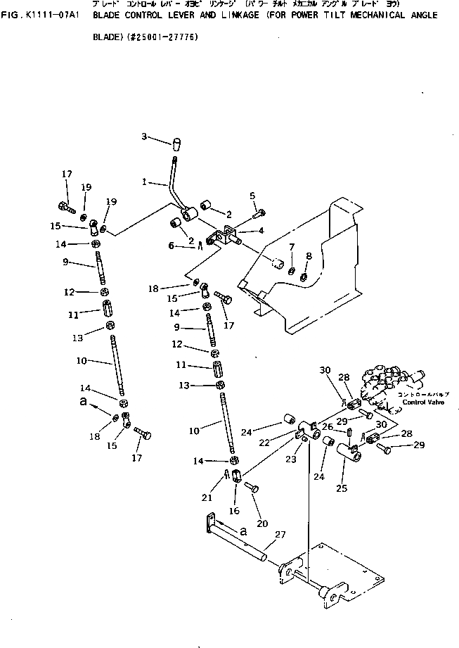
Запчасти Komatsu PC15-3 РЫЧАГ УПРАВЛЕНИЯ ОТВАЛОМ И МЕХАНИЗМ (ДЛЯ НАКЛОНЯЕМ. МЕХАНИЧ. ОТВАЛ С ИЗМ. УГЛОМ ПОВОРОТА)(№-) КАБИНА ОПЕРАТОРА И СИСТЕМА УПРАВЛЕНИЯ

Схема запчастей Komatsu PC15-3 - РЫЧАГ УПРАВЛЕНИЯ ОТВАЛОМ И МЕХАНИЗМ (ДЛЯ НАКЛОНЯЕМ. МЕХАНИЧ. ОТВАЛ С ИЗМ. УГЛОМ ПОВОРОТА)(№-) КАБИНА ОПЕРАТОРА И СИСТЕМА УПРАВЛЕНИЯ
FIT
1:1
100%

Артикул

Название

Примечание

Количество

1

20P-43-71310

LEVER

2

203-43-31420

BUSHING

3

203-43-44360

KNOB

4

20P-43-71320

YOKE

5

04205-11450

PIN

6

04050-14022

PIN,COTTER

7

01641-21423

WASHER

8

04064-01410

RING,SNAP

9

20N-43-71261

ROD

10

20N-43-71551

ROD

11

20S-43-31270

BUCKLE,TURN

12

01583-11006

NUT

13

01508-41006

NUT,L.H. THREAD

14

01580-10806

NUT

15

04250-80847

END,ROD

16

04210-20832

YOKE

17

01010-50830

BOLT

18

01643-30823

WASHER

19

04254-10823

SPACER

20

04205-30822

PIN

21

04052-10833

PIN,SNAP

22

20N-43-71941

LEVER

23

06600-00805

BUSHING

24

09350-02025

BUSHING

25

20P-43-71350

LEVER

26

04025-00632

PIN,SPRING

27

20P-43-71340

SHAFT

28

04213-20520

YOKE

29

04205-10514

PIN

30

04050-11210

PIN,COTTER

Выбрано товаров: 0