Запчасти Komatsu PC15-3 ЦИЛИНДР СТРЕЛЫ РАБОЧЕЕ ОБОРУДОВАНИЕ

Схема запчастей Komatsu PC15-3 - ЦИЛИНДР СТРЕЛЫ РАБОЧЕЕ ОБОРУДОВАНИЕ
FIT
1:1
100%

Артикул

Название

Примечание

Количество

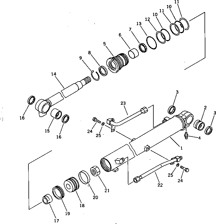
G1

20P-63-X2102

CYLINDER GROUP,(FOR CANOPY)

G1

20P-63-X2112

CYLINDER GROUP,(FOR CAB)

|1

20P-63-02102

CYLINDER ASS'Y,(FOR CANOPY)

|1

20P-63-02101

CYLINDER ASS'Y,(FOR CANOPY)

|1

20P-63-02112

CYLINDER ASS'Y,(FOR CAB)

|1

20P-63-02111

CYLINDER ASS'Y,(FOR CAB)

1

20P-63-57141

CYLINDER,(FOR CANOPY)

|1

20P-63-57240

CYLINDER,(FOR CAB)

2

707-76-40250

BUSHING

|2

07144-10404

BUSHING

3

07145-00040

SEAL,DUST (K1)

4

07020-00000

FITTING,GREASE

5

707-29-75320

HEAD,CYLINDER

|5

707-29-75050

HEAD,CYLINDER

6

07177-04530

BUSHING

7

707-51-45210

PACKING,ROD (K1)

8

112-63-15370

SEAL,DUST (K1)

9

07179-12057

RING,SNAP

10

07000-12070

O-RING (K1)

11

707-35-52760

RING,BACK-UP (K1)

12

707-35-52740

RING,BACK-UP (K1)

13

07000-02075

O-RING (K1)

14

20P-63-57121

ROD,PISTON

15

07143-10404

BUSHING

16

07145-00040

SEAL,DUST (K1)

17

707-71-60460

PLUNGER

|17

707-71-60450

PLUNGER

18

707-36-75370

PISTON

19

707-44-75180

RING,PISTON (K1)

20

707-39-75190

RING,WEAR (K1)

21

01580-03024

NUT

22

20P-63-57171

TUBE,(FOR CANOPY)

|22

20P-63-57270

TUBE,(FOR CAB)

23

20R-63-57181

TUBE

24

01010-51020

BOLT

25

01643-31032

WASHER

Выбрано товаров: 36