Запчасти Komatsu PC15-3 ЦИЛИНДР РУКОЯТИ РАБОЧЕЕ ОБОРУДОВАНИЕ

Схема запчастей Komatsu PC15-3 - ЦИЛИНДР РУКОЯТИ РАБОЧЕЕ ОБОРУДОВАНИЕ
FIT
1:1
100%

Артикул

Название

Примечание

Количество

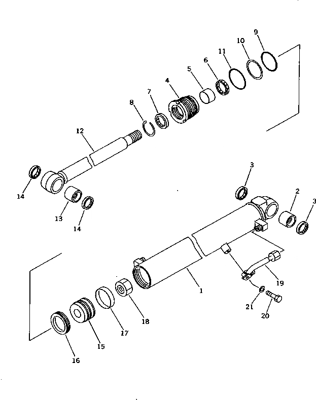
|1

20N-63-02222

CYLINDER ASS'Y

1

20N-63-67142

CYLINDER

2

07143-10304

BUSHING

3

07145-00035

SEAL,DUST (K3)

4

707-29-70830

HEAD,CYLINDER

5

07177-04025

BUSHING

6

707-51-40210

PACKING,ROD (K3)

7

198-63-75190

SEAL,DUST (K3)

8

07179-12052

RING,SNAP

9

07000-12065

O-RING (K3)

10

07146-02066

RING,BACK-UP (K3)

11

07000-02070

O-RING (K3)

12

20N-63-67121

ROD,PISTON

13

07143-10304

BUSHING

14

07145-00035

SEAL,DUST (K3)

15

707-36-70270

PISTON

16

707-44-70180

RING,PISTON (K3)

17

07156-00710

RING,WEAR (K3)

18

01580-03024

NUT

19

20N-63-67180

TUBE

20

01010-51020

BOLT

21

01643-31032

WASHER

Выбрано товаров: 22