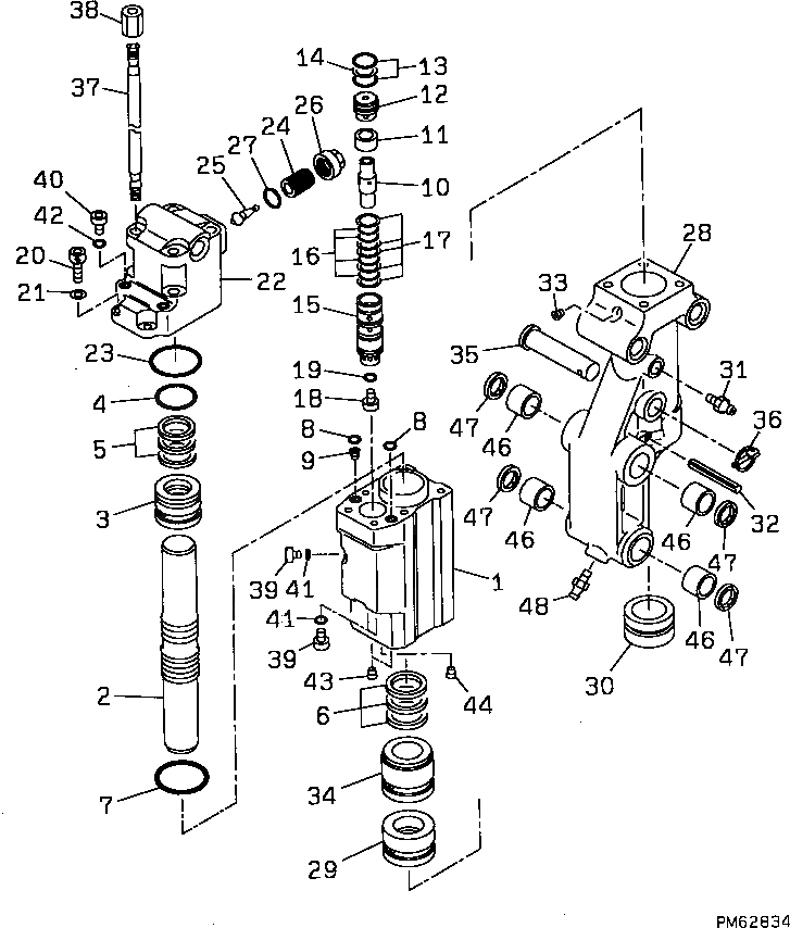
Запчасти Komatsu PC15-3 ГИДРОМОЛОТ (ВНУТР. ЧАСТИ)(№-) РАБОЧЕЕ ОБОРУДОВАНИЕ

Схема запчастей Komatsu PC15-3 - ГИДРОМОЛОТ (ВНУТР. ЧАСТИ)(№-) РАБОЧЕЕ ОБОРУДОВАНИЕ
FIT
1:1
100%

Артикул

Название

Примечание

Количество

1

20P-971-7110

CYLINDER

2

20P-971-7120

PISTON

3

20P-971-7130

SLEEVE

4

20P-971-7140

O-RING (KIT)

5

20P-971-7150

U-PACKING (KIT)

6

20P-971-7160

U-PACKING (KIT)

7

20P-971-7170

O-RING (KIT)

8

20P-971-7180

O-RING (KIT)

9

20P-971-7190

PLUG

10

20P-971-7210

VALVE

11

20P-971-7220

SLEEVE

12

20P-971-7230

PLUG

13

20P-971-7240

O-RING (KIT)

14

20P-971-7250

RING,BACK-UP (KIT)

15

20P-971-7260

LINER

16

20P-971-7270

O-RING (KIT)

17

20P-971-7280

RING,BACK-UP (KIT)

18

20P-971-7290

PLUG,LINER

19

20P-971-7310

O-RING (KIT)

20

20P-971-7320

BOLT

21

20P-971-7330

WASHER,SPRING

22

20P-971-7340

CAP,BACK

23

20P-971-7350

O-RING (KIT)

24

20P-971-7360

BODY,VALVE

25

20P-971-7370

VALVE (KIT)

26

20P-971-7380

CAP

27

20P-971-7390

O-RING (KIT)

28

20P-970-7260

CAP,FRONT

29

20P-971-7410

BUSHING

30

20P-971-7420

BUSHING

31

20P-971-7430

FITTING,GREASE

32

20P-971-7470

PIN,SPRING

33

20P-971-7480

PLUG

34

20P-971-7440

SLEEVE

35

20P-971-7450

PIN

36

20P-971-7460

PIN,RING

37

20P-971-7490

ROD,SIDE

38

20P-971-7510

NUT

39

20P-971-7520

PLUG

40

20P-971-7530

PLUG

41

20P-971-7540

O-RING

42

20P-971-7550

O-RING

43

20P-971-7560

PLUG

44

20P-971-7570

PLUG

45

07144-10303

BUSHING

46

07144-10303

BUSHING

47

07145-00030

SEAL

48

07020-00000

FITTING,GREASE

KIT

20P-970-7271

SERVICE KIT

Выбрано товаров: 0