Запчасти Komatsu PC15-3 ГИДР. БАК.(№-) ГИДРАВЛИКА

Схема запчастей Komatsu PC15-3 - ГИДР. БАК.(№-) ГИДРАВЛИКА
FIT
1:1
100%

Артикул

Название

Примечание

Количество

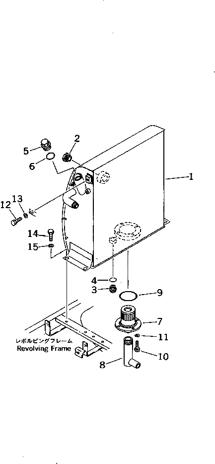
1

20P-60-72116

TANK

2

20N-60-11143

GAUGE,OIL

|2

20N-60-11181

GASKET

3

07044-12412

PLUG

4

07002-02434

O-RING

5

21S-60-11160

PLUG

6

07002-04234

O-RING

7

21U-60-21130

FILLER

8

20N-62-72116

TUBE

9

07000-02085

O-RING

10

01010-51025

BOLT

11

01643-31032

WASHER

12

01010-51020

BOLT

13

01643-31032

WASHER

14

01010-51220

BOLT

15

01643-31232

WASHER

Выбрано товаров: 16