Качественные детали и логистика
Оригинальные и аналоговые запчасти с доставкой по России, Казахстану и Беларуси
©2022 PartSell ООО "Система" ИНН 2463123282 ОГРН 1212400004838
Центральный офис: г. Красноярск, Академика Киренского, д.87, пом.4
Телефон: 8 (800) 777-65-74 Email: zakaz@partsell.ru
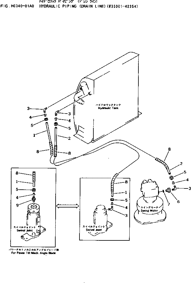
ГИДРОЛИНИЯ (ВОЗВРАТН. ЛИНИЯ)(№-)
№
Артикул
Название
Примечание
Количество
1
20P-62-72460
TUBE
2
|2
07822-00618
3
07834-00613
ELBOW
|3
ELBOW,(POWER TILT MECH.ANGLE BLADE)
4
07831-00612
SLEEVE
5
07832-00614
NUT
6
20N-62-72391
NIPPLE
7
07002-12034
O-RING
8
08017-31008
CONDUIT
9
07836-00613
CONNECTOR,(POWER TILT MECH.ANGLE BLADE)
Выбрано товаров: 0