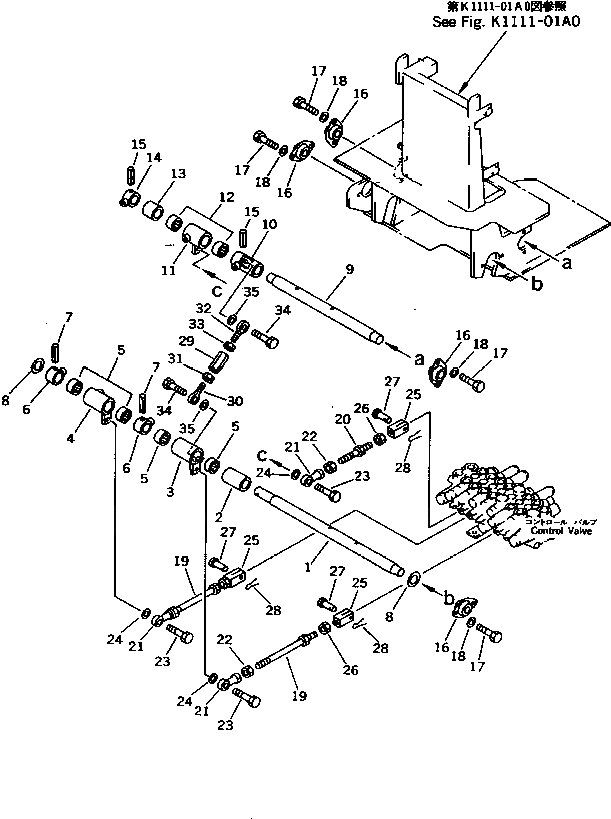
Запчасти Komatsu PC15-3 МЕХ-М УПРАВЛ-Я РАБОЧ. ОБОРУД-EM(№-) КАБИНА ОПЕРАТОРА И СИСТЕМА УПРАВЛЕНИЯ

Схема запчастей Komatsu PC15-3 - МЕХ-М УПРАВЛ-Я РАБОЧ. ОБОРУД-EM(№-) КАБИНА ОПЕРАТОРА И СИСТЕМА УПРАВЛЕНИЯ
FIT
1:1
100%

Артикул

Название

Примечание

Количество

1

20N-43-71623

SHAFT

2

20N-43-71890

COLLAR

3

20N-43-71881

LEVER,ARM

4

20N-43-71273

LEVER,BUCKET

5

195-61-34140

BEARING

6

20N-43-71232

LEVER

7

04025-00640

PIN,SPRING

8

01640-22032

WASHER

9

20N-43-71673

SHAFT

10

20N-43-71292

LEVER,ARM

11

20N-43-71312

LEVER,BOOM

12

195-61-34140

BEARING

13

20N-43-71781

COLLAR

14

20N-43-71232

LEVER

15

04025-00640

PIN,SPRING

16

20N-43-41290

BEARING

17

01010-50820

BOLT

18

01643-30823

WASHER

19

04248-30820

ROD

20

04248-30809

ROD

21

04250-90847

END,ROD, L.H. THREAD

22

01508-40805

NUT,L.H. THREAD

23

01010-50825

BOLT

24

01643-30823

WASHER

25

20C-43-11320

YOKE

26

01580-10806

NUT

27

04205-10520

PIN

28

04050-11210

PIN,COTTER

29

20N-43-73340

BACKLE,TURN

30

04252-20853

END,ROD

31

01580-10806

NUT

32

04252-20853

END,ROD

33

01580-10806

NUT

34

01010-50825

BOLT

35

01643-30823

WASHER

Выбрано товаров: 35