Запчасти Komatsu PC15-3 КАПОТ (/)(№-) ЧАСТИ КОРПУСА

Схема запчастей Komatsu PC15-3 - КАПОТ (/)(№-) ЧАСТИ КОРПУСА
FIT
1:1
100%

Артикул

Название

Примечание

Количество

|$0

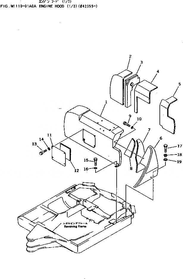
20P-54-71101

COVER ASS'Y

1

COVER

2

20P-54-71142

SHEET

3

20P-54-71130

SHEET

4

20P-54-71111

SHEET

5

20N-54-71132

SHEET

6

20T-54-72252

COVER

7

20N-54-71821

SHEET

8

20N-54-71811

SHEET

9

01010-51020

BOLT

10

01643-31032

WASHER

11

20N-54-71860

PLATE

12

20N-54-71870

SHEET

13

01010-50820

BOLT

14

01643-30823

WASHER

15

01010-51230

BOLT

16

01643-31232

WASHER

17

01010-51235

BOLT

18

20N-54-71830

SPACER

19

20N-54-71840

CUSHION

Выбрано товаров: 0