Запчасти Komatsu PC15-3 ЦИЛИНДР КОВША РАБОЧЕЕ ОБОРУДОВАНИЕ

Схема запчастей Komatsu PC15-3 - ЦИЛИНДР КОВША РАБОЧЕЕ ОБОРУДОВАНИЕ
FIT
1:1
100%

Артикул

Название

Примечание

Количество

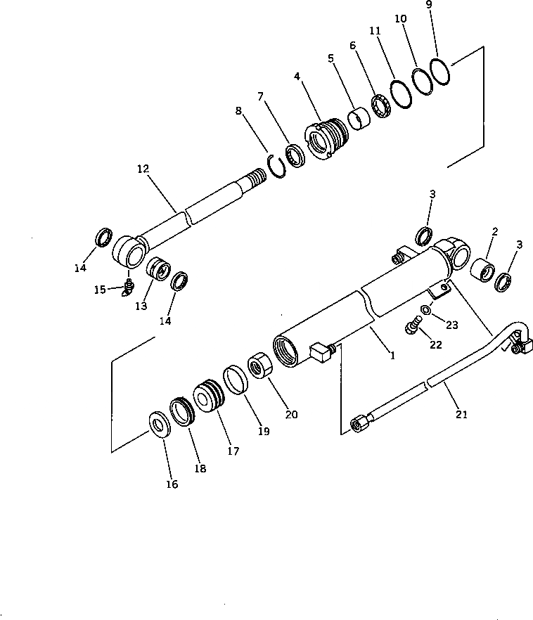
G1

20N-63-X2232

CYLINDER GROUP

|$2

20N-63-02232

CYLINDER ASS'Y

|$3

20N-63-02231

CYLINDER ASS'Y

1

20N-63-77142

CYLINDER

1

20N-63-77141

CYLINDER

2

07143-10304

BUSHING

2

07143-10303

BUSHING

3

07145-00035

SEAL,DUST (K4)

3

07145-00030

SEAL,DUST (K4)

4

707-29-60320

HEAD,CYLINDER

4

707-29-60760

HEAD,CYLINDER

5

07177-03525

BUSHING

6

707-51-35210

PACKING,ROD (K4)

7

175-63-75190

SEAL,DUST (K4)

8

07179-12047

RING,SNAP

9

07000-12055

O-RING (K4)

10

07146-02056

RING,BACK-UP (K4)

11

07000-02060

O-RING (K4)

12

20N-63-77121

ROD,PISTON

13

07144-10303

BUSHING

14

07145-00030

SEAL,DUST (K4)

15

07020-00675

FITTING,GREASE

16

707-40-90040

RETAINER

17

707-36-60150

PISTON

18

707-44-60180

RING,PISTON (K4)

19

707-39-60190

RING,WEAR (K4)

20

01580-02722

NUT

21

20N-63-77172

TUBE

21

20N-63-77171

TUBE

22

01010-51020

BOLT

23

01643-31032

WASHER

Выбрано товаров: 31