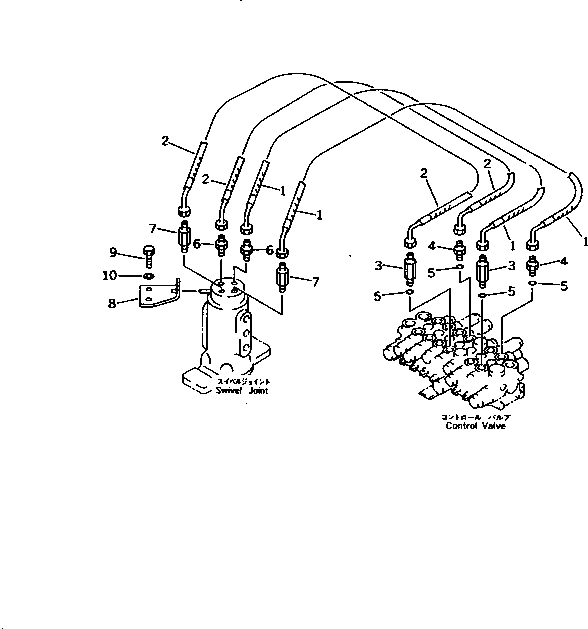
Запчасти Komatsu PC15-3 ГИДРОЛИНИЯ (МОТОР ХОДА ЛИНИЯ) (ВЕРХН.) ГИДРАВЛИКА

Схема запчастей Komatsu PC15-3 - ГИДРОЛИНИЯ (МОТОР ХОДА ЛИНИЯ) (ВЕРХН.) ГИДРАВЛИКА
FIT
1:1
100%

Артикул

Название

Примечание

Количество

1

20P-62-72525

HOSE,L.H. TRAVEL

1

20P-62-72521

HOSE,L.H. TRAVEL

2

20P-62-72521

HOSE,R.H. TRAVEL

2

20P-62-72511

HOSE,R.H. TRAVEL

3

20M-62-32730

NIPPLE

4

20N-62-31270

NIPPLE

5

07002-11823

O-RING

6

20N-62-72550

NIPPLE

6

20N-62-42440

NIPPLE

7

20N-62-72560

NIPPLE

7

20N-62-42450

NIPPLE

8

20N-62-72430

PLATE

9

01010-51020

BOLT

10

01643-31032

WASHER

Выбрано товаров: 14