Запчасти Komatsu PC15-3 ОБОГРЕВАТЕЛЬ. И ТРУБЫ (ДЛЯ КАБИНЫ)(№-) КАБИНА ОПЕРАТОРА И СИСТЕМА УПРАВЛЕНИЯ

Схема запчастей Komatsu PC15-3 - ОБОГРЕВАТЕЛЬ. И ТРУБЫ (ДЛЯ КАБИНЫ)(№-) КАБИНА ОПЕРАТОРА И СИСТЕМА УПРАВЛЕНИЯ
FIT
1:1
100%

Артикул

Название

Примечание

Количество

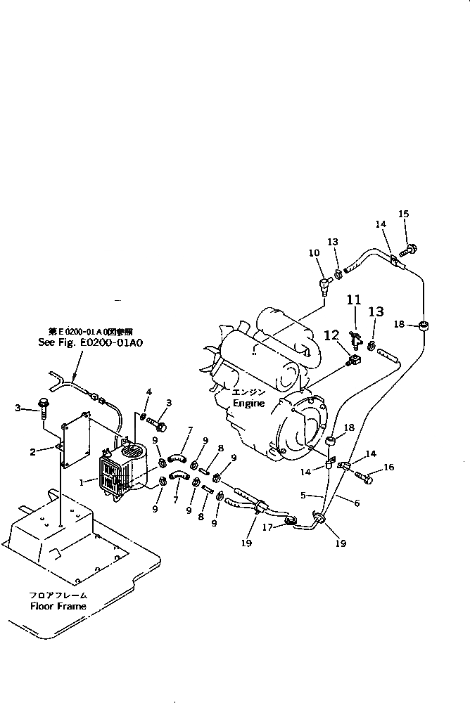
1

20S-06-21460

HEATER ASS'Y

2

20N-54-71675

BRACKET

3

01435-00816

BOLT

4

154-61-16570

WASHER

5

09483-10419

HOSE

6

09483-10420

HOSE

7

09483-20450

HOSE

8

09484-00450

CONNECTOR

9

07281-00259

CLAMP

10

20P-977-1170

ELBOW

11

203-977-4130

VALVE

12

20P-977-7141

ELBOW

13

07281-00259

CLAMP

14

08036-02514

CLIP

15

01435-00816

BOLT

16

01010-51025

BOLT

17

176-911-4160

GROMMET

18

202-981-1360

BUSHING

19

08034-00536

BAND

Выбрано товаров: 19