Запчасти Komatsu PC150-1 CAR ЛИНИЯ ОХЛАЖДЕНИЯ (/) ОПЦИОННЫЕ КОМПОНЕНТЫ
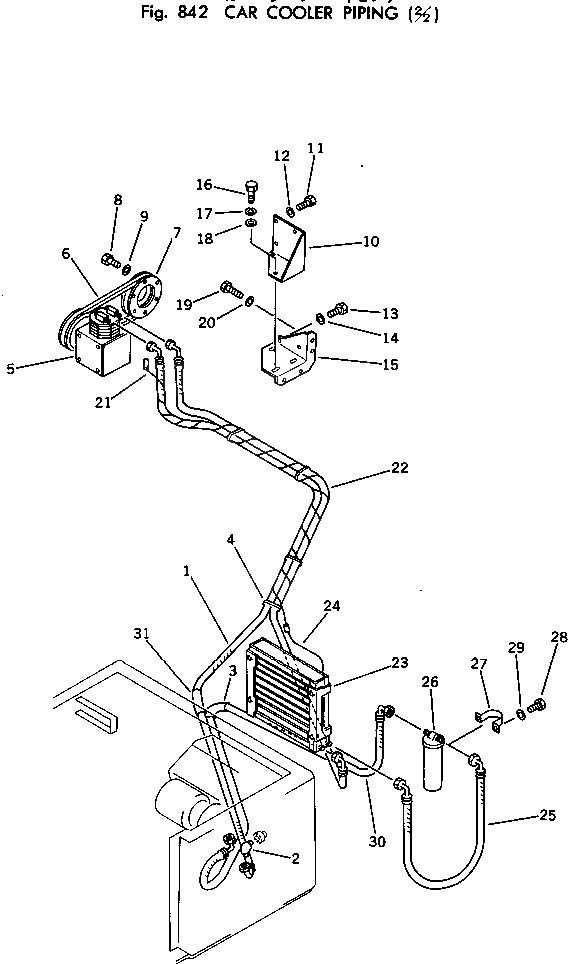
1
21K-978-1280
HOSE
2
205-981-5250
ELBOW
3
203-977-3110
COVER
4
08034-00536
BAND
5
205-981-5130
COMPRESSOR ASS'Y
6
04120-21742
V-BELT
7
205-978-6190
PULLEY
8
01010-51260
BOLT
9
01643-31232
WASHER
10
21K-978-1120
BRACKET
11
01010-50820
BOLT
12
01602-20825
WASHER,SPRING
13
01016-51060
BOLT
14
01580-11008
NUT
15
205-978-6250
BRACKET
16
01010-51030
BOLT
17
01602-21030
WASHER,SPRING
18
01643-31032
WASHER
19
01010-51255
BOLT
20
01643-31232
WASHER
21
21K-978-1150
WIRE ASS'Y
22
21K-978-1260
HOSE
23
205-981-5120
CONDENSER UNIT
24
205-981-5420
WIRE ASS'Y
25
21K-978-1270
HOSE
26
566-07-11240
RECEIVER
27
07282-06114
CLAMP
28
01010-51225
BOLT
29
01643-31232
WASHER
30
20X-978-1180
HOSE
31
203-977-3110
COVER
Выбрано товаров: 0