Запчасти Komatsu PC150-1 ДОПОЛН. ГИДРОЛИНИЯ (НАВЕСН. ОБОРУД) (/) ОПЦИОННЫЕ КОМПОНЕНТЫ

Схема запчастей Komatsu PC150-1 - ДОПОЛН. ГИДРОЛИНИЯ (НАВЕСН. ОБОРУД) (/) ОПЦИОННЫЕ КОМПОНЕНТЫ
FIT
1:1
100%

Артикул

Название

Примечание

Количество

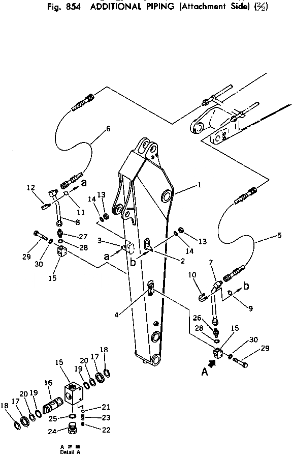
1

21K-973-1480

ARM

2

21K-973-1490

BRACKET (WELDED)

3

21K-973-1510

BRACKET (WELDED)

4

01580-01008

NUT (WELDED)

5

07121-20612

HOSE

6

21K-973-1580

HOSE

7

21K-973-1520

TUBE

8

21K-973-1530

TUBE

9

07283-52737

SEAT

10

07283-22738

CLIP

11

07283-53444

SEAT

12

07283-23442

CLIP

13

01599-01011

NUT

14

01643-31032

WASHER

|$14

203-973-3900

VALVE ASS'Y,STOP

15

203-973-3910

BODY

16

203-973-3920

SPOOL

17

131-60-16170

WASHER

18

04064-03818

RING,SNAP

19

07000-13032

O-RING

20

07001-03032

RING,BACK-UP

21

04260-00793

BALL

22

07043-00108

PLUG

23

236-10-12240

SPRING

24

07040-13316

PLUG

25

07002-13334

O-RING

26

202-62-14170

NIPPLE

27

07230-11034

UNION

28

07002-13334

O-RING

29

01010-51075

BOLT

30

01643-31032

WASHER

Выбрано товаров: 31