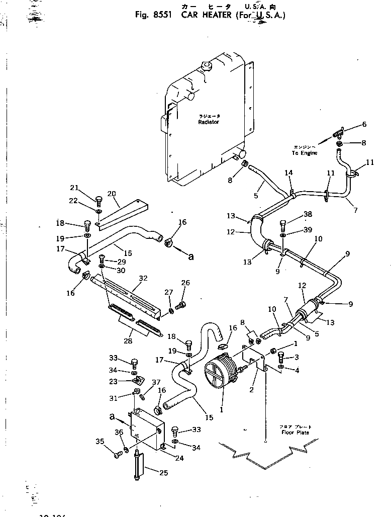
Запчасти Komatsu PC150-1 ОБОГРЕВАТЕЛЬ. (ДЛЯ U.S.A)(№-) ОПЦИОННЫЕ КОМПОНЕНТЫ (СПЕЦ. APPLICATION ЧАСТИ)

Схема запчастей Komatsu PC150-1 - ОБОГРЕВАТЕЛЬ. (ДЛЯ U.S.A)(№-) ОПЦИОННЫЕ КОМПОНЕНТЫ (СПЕЦ. APPLICATION ЧАСТИ)
FIT
1:1
100%

Артикул

Название

Примечание

Количество

1

09480-50000

HEATER

2

21K-977-1111

BRACKET

3

01010-51230

BOLT

4

01643-31232

WASHER

5

09483-00432

HOSE

6

09482-20000

VALVE

7

09483-00427

HOSE

8

07281-00259

CLAMP

9

141-06-11220

CLIP

10

08034-00519

BAND

11

08034-00834

BAND

12

205-62-53780

COVER

13

08034-00823

BAND

14

175-06-36150

CLIP

15

09485-03711

HOSE

16

07281-00419

CLAMP

17

21K-977-1210

CLIP

18

01010-51220

BOLT

19

01643-31232

WASHER

20

21K-977-1140

COVER

21

01010-50816

BOLT

22

01643-30823

WASHER

23

21K-977-1240

COVER

24

21K-977-1220

COVER

25

21K-977-1250

NUT

26

01010-50825

BOLT

27

01643-30823

WASHER

28

09487-10220

NOZZLE

29

01220-40412

SCREW

30

01602-00410

WASHER,SPRING

31

21K-977-1230

LEVER

32

203-977-3350

DUCT

33

01010-50820

BOLT

34

01643-30823

WASHER

35

01220-40812

SCREW

36

01602-20825

WASHER,SPRING

37

04025-00320

PIN,SPRING

38

01010-51020

BOLT

39

01643-31032

WASHER

Выбрано товаров: 39