Запчасти Komatsu PC150-1 ГИДРОЛИНИЯ (КЛАПАН TO/FROM ПОВОРОТНОЕ СОЕДИНЕНИЕ) ХОД И КОНЕЧНАЯ ПЕРЕДАЧА

Схема запчастей Komatsu PC150-1 - ГИДРОЛИНИЯ (КЛАПАН TO/FROM ПОВОРОТНОЕ СОЕДИНЕНИЕ) ХОД И КОНЕЧНАЯ ПЕРЕДАЧА
FIT
1:1
100%

Артикул

Название

Примечание

Количество

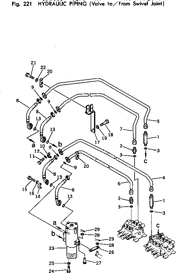
1

203-62-11590

NIPPLE

2

07230-10628

UNION

3

07002-12434

O-RING

4

21K-62-11322

TUBE

5

21K-62-11332

TUBE

6

21K-62-11342

TUBE

7

21K-62-11352

TUBE

8

205-62-66690

HOSE

8

07120-00606

HOSE,(FOR U.S.A.)

9

07000-13025

O-RING

10

07371-30638

FLANGE,SPLIT

11

01010-50830

BOLT

12

01602-20825

WASHER,SPRING

13

07000-13032

O-RING

13

07000-13025

O-RING,(FOR U.S.A.)

14

07371-31049

FLANGE,SPLIT

14

07371-30638

FLANGE,SPLIT (FOR U.S.A.)

15

07372-21035

BOLT

15

01010-50830

BOLT,(FOR U.S.A.)

16

01602-21030

WASHER,SPRING

16

01602-20825

WASHER,SPRING (FOR U.S.A.)

17

21K-62-11361

BRACKET

18

01010-51225

BOLT

19

01643-31232

WASHER

20

202-62-13140

CLAMP

21

01010-51265

BOLT

22

01643-31232

WASHER

23

703-09-31520

SWIVEL JOINT ASS'Y

24

01010-51250

BOLT

25

01643-31232

WASHER

26

21K-60-11340

LINK

26

21K-60-12310

LINK,(FOR U.S.A.)

27

201-60-11230

PIN

28

01641-21626

WASHER

29

04050-14025

PIN,COTTER

Выбрано товаров: 35