Запчасти Komatsu PC150-1 MACHINERY ОБСТАНОВКА (/) ОСНОВНАЯ РАМА И КАБИНА

Схема запчастей Komatsu PC150-1 - MACHINERY ОБСТАНОВКА (/) ОСНОВНАЯ РАМА И КАБИНА
FIT
1:1
100%

Артикул

Название

Примечание

Количество

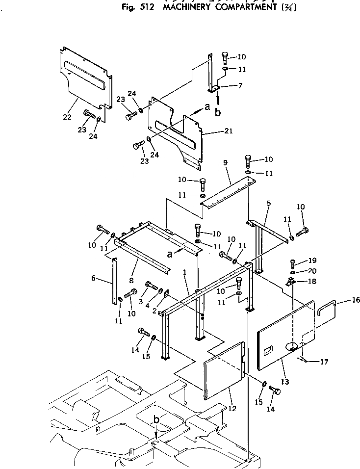
1

21K-54-22210

FRAME

2

21K-54-22470

BRACKET

2

205-54-65920

BRACKET

3

01010-51025

BOLT

4

01643-31032

WASHER

5

21K-54-22251

FRAME

6

21K-54-22231

FRAME

7

21K-54-22241

FRAME

8

21K-54-22221

FRAME

8

21K-54-13410

FRAME,(FOR U.S.A.)

9

21K-54-22260

FRAME

10

01010-51225

BOLT

11

01643-31232

WASHER

12

21K-54-22420

DOOR

13

21K-54-22410

DOOR

13

205-54-63730

LOCK ASS'Y

14

01010-51225

BOLT

15

01643-31232

WASHER

16

205-54-64140

BAR

17

04050-03018

PIN,COTTER

18

20B-54-12210

SPRING

19

01220-30408

SCREW

20

01641-00405

WASHER

21

21K-54-22711

COVER

22

21K-54-22721

COVER

23

01010-51225

BOLT

24

01643-31232

WASHER

Выбрано товаров: 27