Запчасти Komatsu PC150-1 КАБИНА (/) ОСНОВНАЯ РАМА И КАБИНА

Схема запчастей Komatsu PC150-1 - КАБИНА (/) ОСНОВНАЯ РАМА И КАБИНА
FIT
1:1
100%

Артикул

Название

Примечание

Количество

|$0

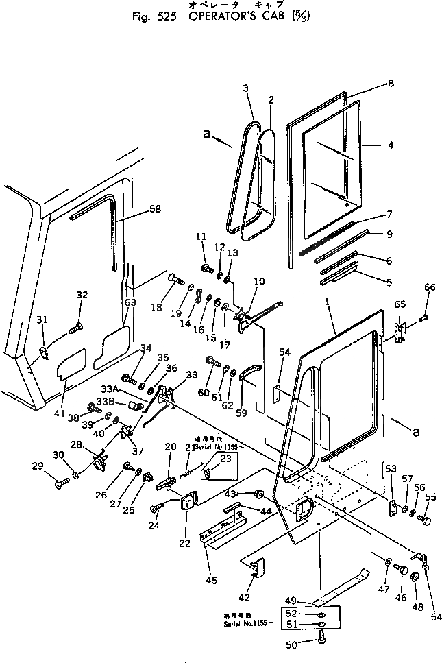
21K-54-00101

OPERATOR'S CAB ASS'Y

|$1

21K-54-00100

OPERATOR'S CAB ASS'Y

|$3

205-54-00210

DOOR ASS'Y

|$4

21K-54-00150

DOOR ASS'Y

1

205-54-66131

DOOR

1

21K-54-11180

DOOR

2

205-54-66830

GLASS

2

21K-54-11370

GLASS

3

205-54-66910

STRIP,WEATHER

3

21K-54-11350

STRIP,WEATHER

4

205-54-66760

GLASS

5

205-54-66770

CHANNEL,BOTTOM

6

21K-54-11270

SEAT

7

205-54-66940

SEAL

8

205-54-66860

SEAL

8

21K-54-11740

SEAL

9

205-54-66950

SEAL

10

205-54-66730

REGULATOR

11

01220-40612

SCREW

12

01602-20619

WASHER,SPRING

13

01641-20608

WASHER

14

205-54-66680

HANDLE ASS'Y

15

566-54-24260

BASE

16

566-54-24270

ESCUTCHEON

17

205-54-66690

SEAL

18

01224-40516

SCREW

19

205-54-53710

WASHER,LOCK

20

205-54-66740

LEVER

21

205-54-66880

LINK

21

21K-54-11320

LINK

22

205-54-66750

CASE

23

205-54-66660

HOLDER

24

205-54-66870

SCREW

25

205-54-66670

GROMMET

26

01370-00520

SCREW

27

01641-00508

WASHER

28

205-54-66780

LOCK ASS'Y

29

01224-40612

SCREW

30

205-54-53720

WASHER,LOCK

31

566-54-24511

STRIKER

32

205-54-68510

SCREW

33

205-54-66920

REMOTE CONTROL A.

33

21K-54-11660

REMOTE CONTROL A.

33A

205-54-68880

ROD

33B

205-54-68890

HOLDER

34

01220-40616

SCREW

35

01602-00619

WASHER,SPRING

36

01641-20608

WASHER

37

205-54-66890

PLATE,CRANK

37

21K-54-11650

PLATE,CRANK

38

01220-40616

SCREW

39

01602-20619

WASHER,SPRING

40

01641-20608

WASHER

41

205-54-67380

SEAL

42

205-54-66320

HANDLE ASS'Y

43

205-54-66710

NUT

44

205-54-66980

STOPPER

45

205-54-67460

BRACKET

45

21K-54-11730

BRACKET

46

01010-50820

BOLT

47

01643-30823

WASHER

48

21K-54-11280

GROMMET

49

205-54-66390

COVER

49

21K-54-11450

COVER

50

01220-00412

SCREW

50

01370-00510

SCREW

51

01602-20619

WASHER,SPRING

52

01641-20608

WASHER

53

205-54-66960

STRIKER

54

205-54-66970

PLATE

55

01010-50820

BOLT

56

01602-20825

WASHER,SPRING

57

01643-30823

WASHER

58

205-54-66990

SEAL

58

21K-54-11410

SEAL

59

205-54-51590

HANDLE

60

01220-40625

SCREW

61

01602-20619

WASHER,SPRING

62

01641-20608

WASHER

63

205-54-67390

SEAL

64

21K-54-11440

KEY ASS'Y

65

21K-54-11670

HINGE ASS'Y

66

205-54-68510

SCREW

Выбрано товаров: 83