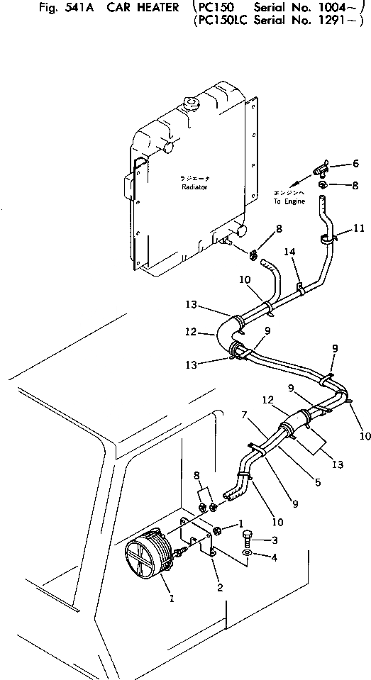
Запчасти Komatsu PC150-1 ОБОГРЕВАТЕЛЬ.(№-) ОСНОВНАЯ РАМА И КАБИНА

Схема запчастей Komatsu PC150-1 - ОБОГРЕВАТЕЛЬ.(№-) ОСНОВНАЯ РАМА И КАБИНА
FIT
1:1
100%

Артикул

Название

Примечание

Количество

1

09480-50000

HEATER

2

21K-977-1111

BRACKET

3

01010-51230

BOLT

4

01643-31232

WASHER

5

09483-00432

HOSE

6

09482-20000

VALVE

7

09483-00427

HOSE

8

07281-00259

CLAMP

9

141-06-11220

CLIP

10

08034-00519

BAND

11

08034-00834

BAND

12

205-62-53780

COVER

13

08034-00823

BAND

14

175-06-36150

CLIP

Выбрано товаров: 14