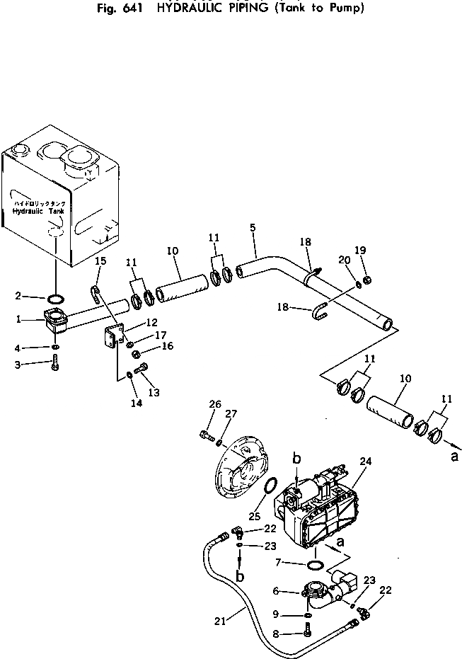
Запчасти Komatsu PC150-1 ГИДРОЛИНИЯ (ИЗ БАКА В НАСОС) УПРАВЛ-Е РАБОЧИМ ОБОРУДОВАНИЕМ

Схема запчастей Komatsu PC150-1 - ГИДРОЛИНИЯ (ИЗ БАКА В НАСОС) УПРАВЛ-Е РАБОЧИМ ОБОРУДОВАНИЕМ
FIT
1:1
100%

Артикул

Название

Примечание

Количество

1

21K-62-11112

TUBE

2

07000-02105

O-RING

3

01010-51235

BOLT

4

01643-31232

WASHER

5

21K-62-11122

TUBE

6

21K-62-13111

TUBE

7

07000-02125

O-RING

8

01010-51030

BOLT

9

01643-31032

WASHER

10

07260-28736

HOSE

11

07281-01159

CLAMP

12

21K-62-11172

BRACKET

13

01010-51230

BOLT

14

01643-31232

WASHER

15

07283-28973

CLIP

16

01599-01214

NUT

17

01643-31232

WASHER

18

07283-28981

CLIP

19

01599-01214

NUT

20

01643-31232

WASHER

21

07102-20311

HOSE

22

07235-10315

ELBOW

23

07002-02034

O-RING

24

706-66-15200

PUMP ASS'Y

25

07000-02115

O-RING

26

01010-51260

BOLT

27

01643-31232

WASHER

Выбрано товаров: 27