Запчасти Komatsu PC150-1 ПАНЕЛЬ ПРИБОРОВ (/) КОМПОНЕНТЫ ДВИГАТЕЛЯ И ЭЛЕКТРИКА

Схема запчастей Komatsu PC150-1 - ПАНЕЛЬ ПРИБОРОВ (/) КОМПОНЕНТЫ ДВИГАТЕЛЯ И ЭЛЕКТРИКА
FIT
1:1
100%

Артикул

Название

Примечание

Количество

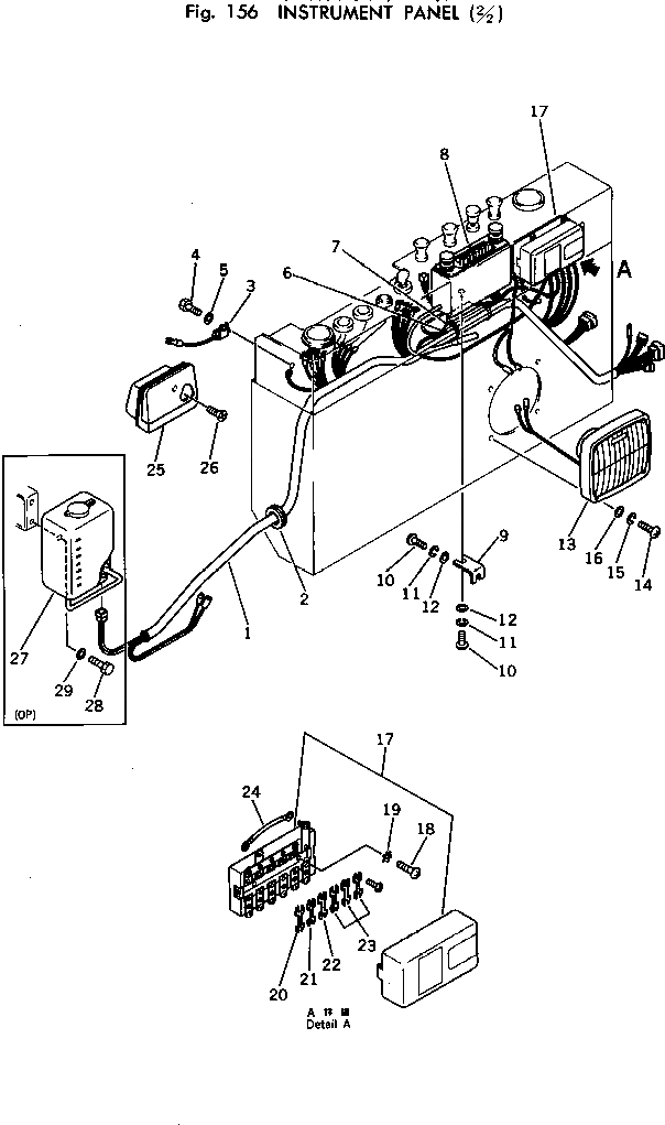
1

21K-06-12720

WIRE ASS'Y

2

08037-02512

GROMMET

3

205-06-51290

CONDENSER

4

01010-50612

BOLT

5

01643-30623

WASHER

6

205-06-62340

FILTER

7

08034-00519

BAND

8

209-06-11720

RADIO

9

205-06-62280

BRACKET

10

01220-40512

SCREW

11

01601-20513

WASHER,SPRING

12

01641-20508

WASHER

13

209-06-11730

SPEAKER

14

01220-40420

SCREW

15

01601-20410

WASHER,SPRING

16

01641-20405

WASHER

17

175-06-35430

BOX,FUSE

18

01220-40616

SCREW

19

01611-06063

WASHER

20

175-06-35390

FUSE¤ 30A

21

175-06-35380

FUSE¤ 40A

22

175-06-35410

FUSE¤ 20A

23

175-06-35420

FUSE¤ 10A

24

178-06-12290

WIRE

25

206-54-15540

ASHTRAY

26

01224-40416

SCREW

27

206-06-15230

TANK,WASHER

28

01010-50616

BOLT

29

01643-30623

WASHER

Выбрано товаров: 29