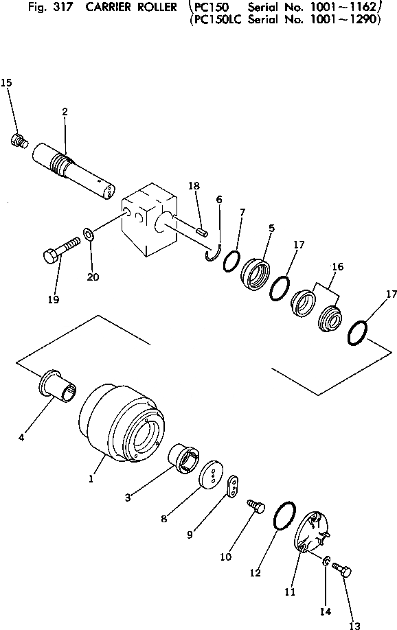
Запчасти Komatsu PC150-1 ПОДДЕРЖИВАЮЩИЙ КАТОК(№-) ХОДОВАЯ

Схема запчастей Komatsu PC150-1 - ПОДДЕРЖИВАЮЩИЙ КАТОК(№-) ХОДОВАЯ
FIT
1:1
100%

Артикул

Название

Примечание

Количество

|1

205-30-00045

CARRIER ROLLER ASS'Y

|1

204-30-00020

CARRIER ROLLER ASS'Y

1

205-30-65590

ROLLER

2

135-30-15110

SHAFT

3

140-30-15140

BUSHING

4

130-30-15162

BUSHING

5

140-813-5121

COLLAR

6

141-30-15140

RING,SNAP

7

07000-03048

O-RING

8

130-30-15150

PLATE

9

130-30-15140

LOCK

10

01010-51020

BOLT

11

140-813-5160

COVER

12

07000-03082

O-RING

13

01010-51025

BOLT

14

01602-21030

WASHER

15

07052-21624

PLUG

|16

140-30-00141

FLOATING SEAL ASS'Y

16

140-30-00401

SEAL RING ASS'Y

|16

RING,SEAL

17

140-30-00411

O-RING ASS'Y

|17

O-RING

18

130-27-12430

PIN

19

01010-52085

BOLT

20

01643-32060

WASHER

Выбрано товаров: 25