Запчасти Komatsu PC150-1 MACHINERY ОБСТАНОВКА (/) ОСНОВНАЯ РАМА И КАБИНА

Схема запчастей Komatsu PC150-1 - MACHINERY ОБСТАНОВКА (/) ОСНОВНАЯ РАМА И КАБИНА
FIT
1:1
100%

Артикул

Название

Примечание

Количество

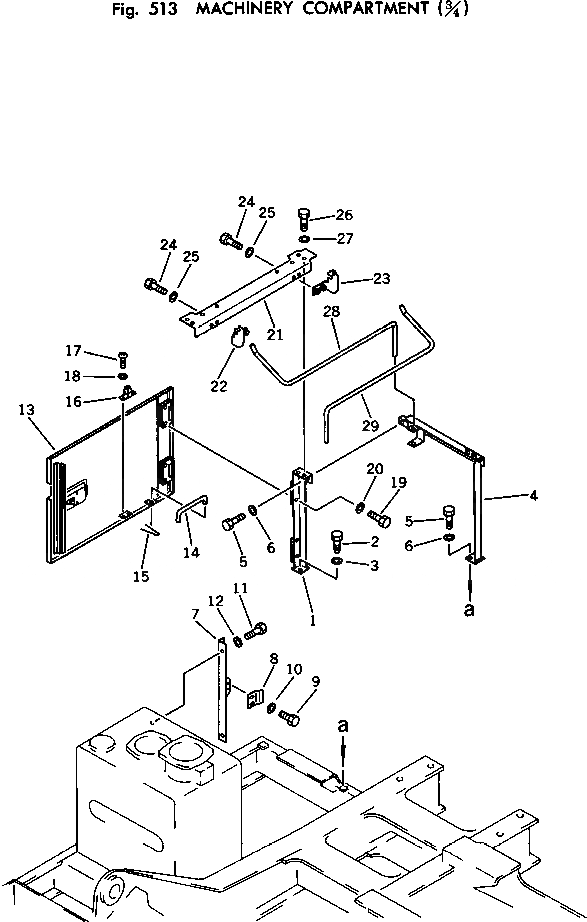
1

21K-54-22310

FRAME

2

01010-51225

BOLT

3

01643-31232

WASHER

4

21K-54-22321

FRAME

5

01010-51225

BOLT

6

01643-31232

WASHER

7

21K-54-22340

FRAME

8

205-54-65920

BRACKET

9

01010-51025

BOLT

10

01643-31032

WASHER

11

01010-51225

BOLT

12

01643-31232

WASHER

13

21K-54-22430

DOOR

|13

205-54-63730

LOCK ASS'Y

14

205-54-64140

BAR

15

04050-03018

PIN,COTTER

16

20B-54-12210

SPRING

17

01220-30408

SCREW

18

01641-00405

WASHER

19

01010-51225

BOLT

20

01643-31232

WASHER

21

21K-54-22330

FRAME

22

205-54-65661

BRACKET

23

205-54-65671

BRACKET

24

01010-51225

BOLT

25

01643-31232

WASHER

26

01010-51225

BOLT

27

01643-31232

WASHER

28

21K-54-22161

BAR,TORSION

29

21K-54-22171

BAR,TORSION

Выбрано товаров: 30