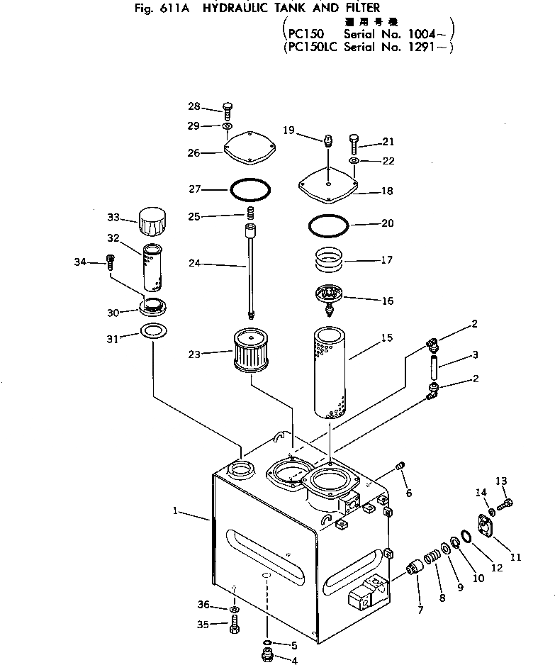
Запчасти Komatsu PC150-1 ГИДР. БАК. AND ФИЛЬТР.(№-) УПРАВЛ-Е РАБОЧИМ ОБОРУДОВАНИЕМ

Схема запчастей Komatsu PC150-1 - ГИДР. БАК. AND ФИЛЬТР.(№-) УПРАВЛ-Е РАБОЧИМ ОБОРУДОВАНИЕМ
FIT
1:1
100%

Артикул

Название

Примечание

Количество

|1

21K-60-00011

TANK ASS'Y,HYDRAULIC

1

TANK

2

203-60-31100

ELBOW ASS'Y

3

203-60-31160

TUBE

4

07044-13620

PLUG

5

07002-03634

O-RING

6

07042-00211

PLUG

7

205-60-65250

POPPET

8

156-76-33310

SPRING

9

205-60-65260

SEAT

10

04065-05020

RING,SNAP

11

21K-60-11410

PLATE

12

07000-02060

O-RING

13

01010-51025

BOLT

14

01643-31032

WASHER

15

205-60-51430

ELEMENT

16

12R-60-11300

VALVE ASS'Y

17

12R-60-11390

SPRING

18

21K-60-11260

COVER

19

07042-20108

PLUG

20

07000-05180

O-RING

21

01010-51230

BOLT

22

01643-31232

WASHER

23

21K-60-11190

STRAINER

24

21K-60-11152

SUPPORT

25

12R-60-11230

SPRING

26

21K-60-11180

COVER

27

07000-05180

O-RING

28

01010-51025

BOLT

29

01643-31032

WASHER

|30

22W-60-15200

CAP ASS'Y

30

22W-60-15220

FLANGE

31

22W-60-15240

PACKING

32

22W-60-15210

STRAINER

33

22W-60-15230

CAP ASS'Y

34

01252-40616

BOLT

35

01010-51635

BOLT

36

01643-31645

WASHER

Выбрано товаров: 0