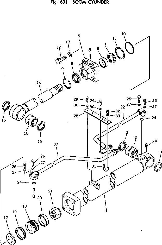
Запчасти Komatsu PC150-1 ЦИЛИНДР СТРЕЛЫ УПРАВЛ-Е РАБОЧИМ ОБОРУДОВАНИЕМ

Схема запчастей Komatsu PC150-1 - ЦИЛИНДР СТРЕЛЫ УПРАВЛ-Е РАБОЧИМ ОБОРУДОВАНИЕМ
FIT
1:1
100%

Артикул

Название

Примечание

Количество

|1

21K-63-56301

BOOM CYLINDER ASS'Y,L.H. \

|1

21K-63-56401

BOOM CYLINDER ASS'Y,R.H. \

|1

21K-63-56310

CYLINDER SUB ASS'Y,\

1

21K-63-56340

CYLINDER

2

707-76-70040

BUSHING

3

07145-00070

SEAL,DUST (KIT)

4

07020-00000

FITTING,GREASE

5

707-27-11070

HEAD,CYLINDER

6

07177-07530

BUSHING

7

707-51-75211

PACKING,ROD (KIT)

8

144-63-94170

SEAL,DUST (KIT)

9

07179-00097

RING,SNAP

10

07000-12105

O-RING (KIT)

11

07146-02106

RING,BACK-UP (KIT)

12

01010-82475

BOLT

13

01602-22472

WASHER,SPRING

14

21K-63-56320

ROD,PISTON

15

707-76-70040

BUSHING

16

07145-00070

SEAL,DUST (KIT)

17

707-40-11480

RETAINER

18

707-36-11480

PISTON

19

707-44-11080

RING,PISTON (KIT)

20

07155-01125

RING,WEAR (KIT)

21

07165-15860

NUT,\

22

21K-63-56380

TUBE,L.H.

|22

21K-63-56480

TUBE,R.H.

23

21K-63-56370

TUBE,L.H.

|23

21K-63-56470

TUBE,R.H.

24

07000-13030

O-RING (KIT)

25

01010-50840

BOLT

26

01010-50855

BOLT

27

01602-20825

WASHER,SPRING

28

707-88-10670

PLATE

29

01010-51025

BOLT

30

01643-31032

WASHER

31

07283-22738

CLIP

32

01599-01011

NUT

33

01643-31032

WASHER

Выбрано товаров: 38