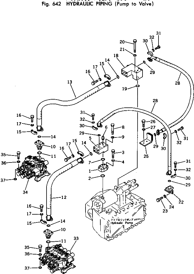
Запчасти Komatsu PC150-1 ГИДРОЛИНИЯ (ИЗ НАСОСА В КЛАПАН) УПРАВЛ-Е РАБОЧИМ ОБОРУДОВАНИЕМ

Схема запчастей Komatsu PC150-1 - ГИДРОЛИНИЯ (ИЗ НАСОСА В КЛАПАН) УПРАВЛ-Е РАБОЧИМ ОБОРУДОВАНИЕМ
FIT
1:1
100%

Артикул

Название

Примечание

Количество

1

206-62-31490

FLANGE

2

07000-13038

O-RING

3

07372-01030

BOLT

4

01602-21030

WASHER,SPRING

5

21K-62-13270

BLOCK

6

07042-20108

PLUG

7

07000-13035

O-RING

8

01010-51080

BOLT

9

01643-31032

WASHER

10

20D-62-11660

NIPPLE

11

07002-13334

O-RING

12

07127-01008

HOSE

13

07127-01010

HOSE

14

07000-13032

O-RING

15

07371-31049

FLANGE,SPLIT

16

07372-01035

BOLT

17

01602-21030

WASHER,SPRING

18

21K-62-13290

BLOCK

19

07000-13035

O-RING

20

01011-51005

BOLT

21

01643-31032

WASHER

22

21K-62-13360

BRACKET

23

01010-51225

BOLT

24

01643-31232

WASHER

25

21K-62-13370

BRACKET

26

01010-51025

BOLT

27

01643-31032

WASHER

28

21K-62-13330

HOSE

29

07000-13025

O-RING

30

07371-30638

FLANGE,SPLIT

31

01010-50830

BOLT

32

01602-20825

WASHER,SPRING

33

700-84-48001

VALVE ASS'Y,L.H.

34

700-83-48001

VALVE ASS'Y,R.H.

35

01010-51230

BOLT

36

01643-31232

WASHER

37

01642-21216

WASHER

Выбрано товаров: 37