Запчасти Komatsu PC150-1 КЛАПАН МЕХ-М УПРАВЛ-Я (РАБОЧЕЕ ОБОРУДОВАНИЕ¤ПОВОРОТН.)(/)(ДЛЯ ЯПОН.) УПРАВЛ-Е РАБОЧИМ ОБОРУДОВАНИЕМ

Схема запчастей Komatsu PC150-1 - КЛАПАН МЕХ-М УПРАВЛ-Я (РАБОЧЕЕ ОБОРУДОВАНИЕ¤ПОВОРОТН.)(/)(ДЛЯ ЯПОН.) УПРАВЛ-Е РАБОЧИМ ОБОРУДОВАНИЕМ
FIT
1:1
100%

Артикул

Название

Примечание

Количество

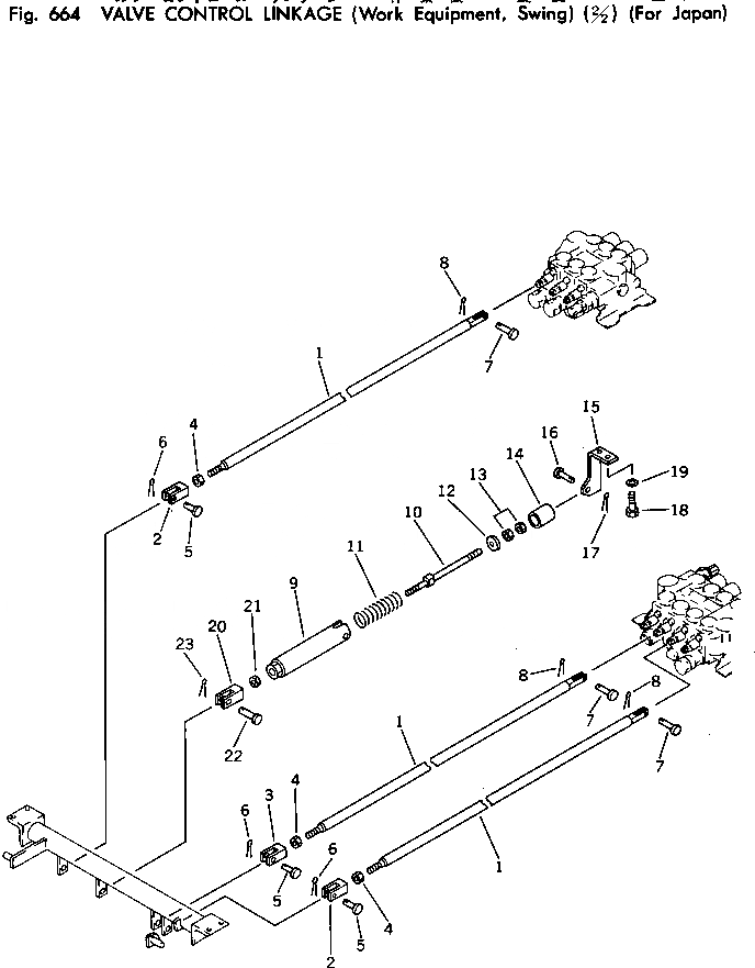
1

21K-43-11590

ROD

2

04210-21040

YOKE

3

21K-43-11540

YOKE

4

01582-01008

NUT

5

04205-01028

PIN

6

04050-13018

PIN,COTTER

7

04205-10822

PIN

8

04050-12012

PIN,COTTER

9

205-43-62660

GUIDE

10

21K-43-11640

ROD

11

135-43-14271

SPRING

12

202-43-11440

PLATE

13

01582-01008

NUT

14

21K-43-11510

SPACER

15

21K-43-11530

BRACKET

16

04205-01658

PIN

17

04050-14025

PIN,COTTER

18

01010-51225

BOLT

19

01643-31232

WASHER

20

21K-43-11130

YOKE

21

01582-01008

NUT

22

04205-01028

PIN

23

04050-13018

PIN,COTTER

Выбрано товаров: 23