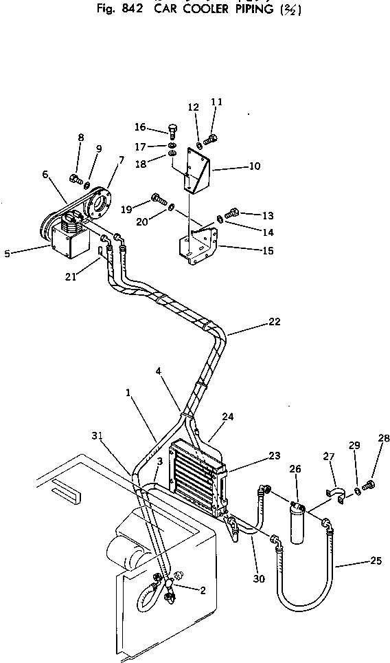
Запчасти Komatsu PC150-1 CAR ЛИНИЯ ОХЛАЖДЕНИЯ (/) ОПЦИОННЫЕ КОМПОНЕНТЫ

Схема запчастей Komatsu PC150-1 - CAR ЛИНИЯ ОХЛАЖДЕНИЯ (/) ОПЦИОННЫЕ КОМПОНЕНТЫ
FIT
1:1
100%

Артикул

Название

Примечание

Количество

1

21K-978-1280

HOSE

2

205-981-5250

ELBOW

3

203-977-3110

COVER

4

08034-00536

BAND

5

205-981-5130

COMPRESSOR ASS'Y

6

04120-21742

V-BELT

7

205-978-6190

PULLEY

8

01010-51260

BOLT

9

01643-31232

WASHER

10

21K-978-1120

BRACKET

11

01010-50820

BOLT

12

01602-20825

WASHER,SPRING

13

01016-51060

BOLT

14

01580-11008

NUT

15

205-978-6250

BRACKET

16

01010-51030

BOLT

17

01602-21030

WASHER,SPRING

18

01643-31032

WASHER

19

01010-51255

BOLT

20

01643-31232

WASHER

21

21K-978-1150

WIRE ASS'Y

22

21K-978-1260

HOSE

23

205-981-5120

CONDENSER UNIT

24

205-981-5420

WIRE ASS'Y

25

21K-978-1270

HOSE

26

566-07-11240

RECEIVER

27

07282-06114

CLAMP

28

01010-51225

BOLT

29

01643-31232

WASHER

30

20X-978-1180

HOSE

31

203-977-3110

COVER

Выбрано товаров: 31