Запчасти Komatsu PC150-3 СЕРВОКЛАПАН¤ ПЕРЕДН. (/) УПРАВЛ-Е РАБОЧИМ ОБОРУДОВАНИЕМ

Схема запчастей Komatsu PC150-3 - СЕРВОКЛАПАН¤ ПЕРЕДН. (/) УПРАВЛ-Е РАБОЧИМ ОБОРУДОВАНИЕМ
FIT
1:1
100%

Артикул

Название

Примечание

Количество

|$0

708-25-20100

HYDRAULIC PUMP ASS'Y,(HPV71+71)

|$2

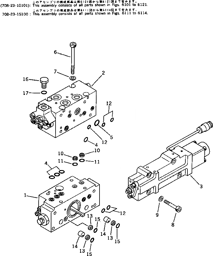
708-25-25100

SERVO VALVE ASS'Y,FRONT

1

708-25-25200

VALVE SUB ASS'Y,SERVO, FRONT

2

708-25-27100

VALVE ASS'Y,C.O. AND N.C.

3

708-25-28100

VALVE ASS'Y,T.V.C.

4

07000-02011

O-RING

5

07000-02018

O-RING

6

708-25-19160

BOLT

7

01602-20825

WASHER,SPRING

8

01252-30850

BOLT

9

01602-20825

WASHER,SPRING

10

720-68-11920

FILTER

11

07000-12010

O-RING

12

07000-11009

O-RING

13

720-68-11920

FILTER

14

708-25-19150

ORIFICE

15

07000-12010

O-RING

16

07040-11409

PLUG

17

07002-01423

O-RING

Выбрано товаров: 19