Запчасти Komatsu PC150-3 СЕРВОКЛАПАН¤ ЗАДН. (/) УПРАВЛ-Е РАБОЧИМ ОБОРУДОВАНИЕМ

Схема запчастей Komatsu PC150-3 - СЕРВОКЛАПАН¤ ЗАДН. (/) УПРАВЛ-Е РАБОЧИМ ОБОРУДОВАНИЕМ
FIT
1:1
100%

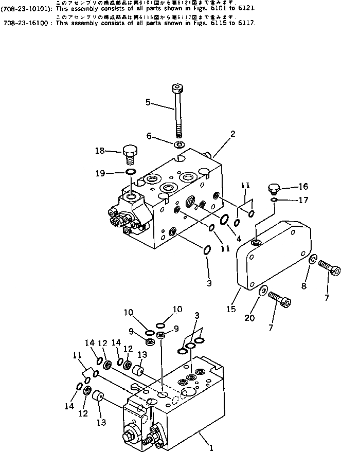
Артикул

Название

Примечание

Количество

|$0

708-25-20100

HYDRAULIC PUMP ASS'Y,(HPV71+71)

|$2

708-25-26100

SERVO VALVE ASS'Y,REAR

1

708-25-26200

VALVE SUB ASS'Y,SERVO, REAR

2

708-25-27100

VALVE ASS'Y,C.O. AND N.C.

3

07000-02011

O-RING

4

07000-02018

O-RING

5

708-25-19160

BOLT

6

01602-20825

WASHER,SPRING

7

01252-30835

BOLT

8

01602-20825

WASHER,SPRING

9

720-68-11920

FILTER

10

07000-12010

O-RING

11

07000-11009

O-RING

12

720-68-11920

FILTER

13

708-25-19150

ORIFICE

14

07000-12010

O-RING

15

708-23-18241

PLATE

16

07040-11007

PLUG

17

07002-01023

O-RING

18

07040-11049

PLUG

19

07002-01423

O-RING

20

01643-30823

WASHER

Выбрано товаров: 0