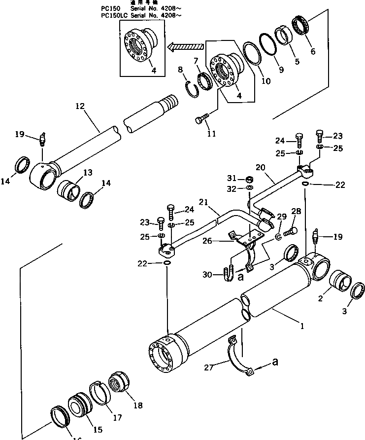
Запчасти Komatsu PC150-3 ЦИЛИНДР СТРЕЛЫ УПРАВЛ-Е РАБОЧИМ ОБОРУДОВАНИЕМ

Схема запчастей Komatsu PC150-3 - ЦИЛИНДР СТРЕЛЫ УПРАВЛ-Е РАБОЧИМ ОБОРУДОВАНИЕМ
FIT
1:1
100%

Артикул

Название

Примечание

Количество

|$0

21K-63-56501

CYLINDER ASS'Y \,BOOM, L.H.

|$1

21K-63-56500

CYLINDER ASS'Y \,BOOM, L.H.

|$2

21K-63-56601

CYLINDER ASS'Y \,BOOM, R.H.

|$3

21K-63-56600

CYLINDER ASS'Y \,BOOM, R.H.

|$4

21K-63-56511

CYLINDER SUB ASS'Y

|$5

21K-63-56510

CYLINDER SUB ASS'Y

1

21K-63-56540

CYLINDER

2

707-76-70040

BUSHING

3

07145-00070

SEAL,DUST

4

707-27-11372

HEAD,CYLINDER

4

707-27-11371

HEAD,CYLINDER

5

07177-07530

BUSHING

6

707-51-75211

PACKING,ROD

7

144-63-94170

SEAL,DUST

8

07179-00097

RING,SNAP

9

07000-12105

O-RING

10

07146-02106

RING,BACK-UP

11

01010-81655

BOLT

12

21K-63-56520

ROD

13

707-76-70040

BUSHING

14

07145-00070

SEAL,DUST

15

707-36-11461

PISTON

15

707-36-11460

PISTON

16

707-44-11080

RING,PISTON

17

07155-01125

RING,WEAR

18

707-68-10580

NUT

19

07020-00675

FITTING,GREASE

20

21K-63-56580

TUBE,L.H.

20

21K-63-56680

TUBE,R.H.

21

21K-63-56570

TUBE,L.H.

21

21K-63-56670

TUBE,R.H.

22

07000-13030

O-RING

23

01010-50845

BOLT

24

01010-50855

BOLT

25

01602-20825

WASHER,SPRING

26

707-88-99100

BRACKET

27

707-88-99120

BAND

28

01010-51035

BOLT

29

01602-21030

WASHER,SPRING

30

07283-22738

CLIP

31

01599-01011

NUT

32

01643-31032

WASHER

Выбрано товаров: 42