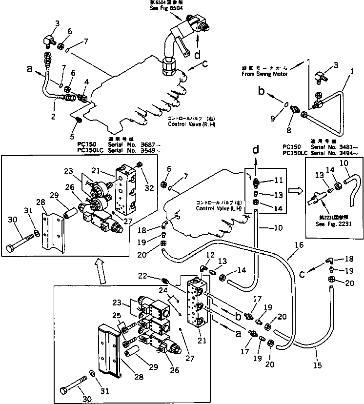
Запчасти Komatsu PC150-3 ГИДРОЛИНИЯ (КЛАПАН TO/FROM СОЛЕНОИДНЫЙ КЛАПАН)(С АВТОМАТИЧ. DECEL.¤ПОВОРОТН. МЕХАНИЧ. ТОРМОЗ.) УПРАВЛ-Е РАБОЧИМ ОБОРУДОВАНИЕМ

Схема запчастей Komatsu PC150-3 - ГИДРОЛИНИЯ (КЛАПАН TO/FROM СОЛЕНОИДНЫЙ КЛАПАН)(С АВТОМАТИЧ. DECEL.¤ПОВОРОТН. МЕХАНИЧ. ТОРМОЗ.) УПРАВЛ-Е РАБОЧИМ ОБОРУДОВАНИЕМ
FIT
1:1
100%

Артикул

Название

Примечание

Количество

1

21K-62-21541

TUBE

1

21K-62-21540

TUBE

2

203-62-44120

HOSE

3

07232-20210

ELBOW

4

07231-20210

ELBOW

5

07042-00108

PLUG

6

07239-11408

NUT

7

07002-01423

O-RING

8

07230-10210

UNION

9

07002-01423

O-RING

10

07822-00605

TUBE

10

07822-00606

TUBE

11

07836-00613

CONNECTOR

12

07834-00613

ELBOW

13

07831-00612

SLEEVE

14

07832-00614

NUT

15

07822-00404

TUBE

16

07822-00409

TUBE

17

07836-00410

CONNECTOR

18

07834-00410

ELBOW

19

07831-00411

SLEEVE

20

07832-00410

NUT

21

203-62-41814

BLOCK

21

203-62-41812

BLOCK

22

07042-30108

PLUG

23

203-60-42240

SOLENOID VALVE ASS'Y

23

21K-60-12301

SOLENOID VALVE ASS'Y

24

07000-11009

O-RING

25

01252-40545

BOLT

26

203-60-41600

SOLENOID VALVE ASS'Y

27

22W-60-11410

O-RING

28

203-62-44491

COVER

28

203-62-44490

COVER

29

203-62-44510

SPACER

30

01011-51235

BOLT

31

01643-31232

WASHER

32

07043-70108

PLUG

Выбрано товаров: 37