Запчасти Komatsu PC150-3 КОВШ¤ .M¤ MM (ВЕРТИКАЛЬН. ПАЛЕЦ) РАБОЧЕЕ ОБОРУДОВАНИЕ

Схема запчастей Komatsu PC150-3 - КОВШ¤ .M¤ MM (ВЕРТИКАЛЬН. ПАЛЕЦ) РАБОЧЕЕ ОБОРУДОВАНИЕ
FIT
1:1
100%

Артикул

Название

Примечание

Количество

|$0

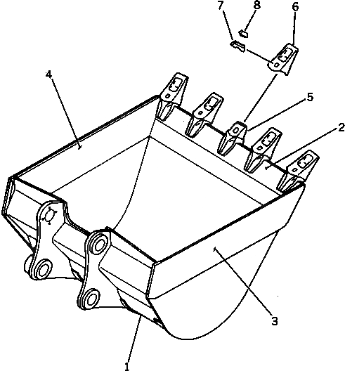
21K-920-0021

BUCKET ASS'Y

1

21K-920-2111

BUCKET

2

21K-920-2121

PLATE (WELDED)

3

21K-920-2131

PLATE,L.H. (WELDED)

4

21K-920-2141

PLATE,R.H. (WELDED)

5

205-70-74261

ADAPTER (WELDED)

6

205-70-74272

TOOTH

7

205-70-74280

PIN

8

205-70-74290

LOCK

Выбрано товаров: 9