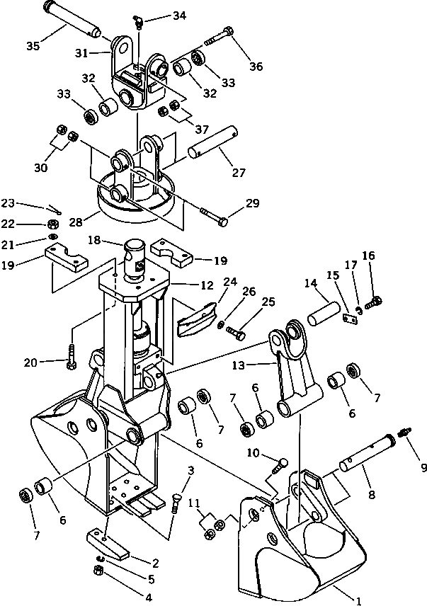
Запчасти Komatsu PC150-3 ГРЕЙФЕРН. КОВШ¤.M РАБОЧЕЕ ОБОРУДОВАНИЕ

Схема запчастей Komatsu PC150-3 - ГРЕЙФЕРН. КОВШ¤.M РАБОЧЕЕ ОБОРУДОВАНИЕ
FIT
1:1
100%

Артикул

Название

Примечание

Количество

|$0

21K-931-0010

BUCKET ASS'Y

1

21K-931-2110

BUCKET

2

202-931-1180

TOOTH

3

02090-11275

BOLT

4

02290-11219

NUT

5

01602-21957

WASHER,SPRING

6

203-70-33150

BUSHING

7

203-70-33210

SEAL,DUST

8

21K-931-2120

PIN

9

07020-00000

FITTING,GREASE

10

01011-51620

BOLT

11

01580-11613

NUT

12

21K-931-2130

FRAME

13

21K-931-2140

LINK

14

21K-931-2150

PIN

15

04082-00212

LOCK

16

01010-51225

BOLT

17

01602-21236

WASHER,SPRING

18

21K-63-94100

CYLINDER ASS'Y \,CLAMSHELL

19

21K-931-2160

PLATE

20

01013-53020

BOLT

21

01643-33080

WASHER

22

01590-13033

NUT

23

04050-16055

PIN,COTTER

24

21K-931-2170

SUPPORT

25

01010-51430

BOLT

26

01643-31445

WASHER

27

21K-931-2180

PIN

28

21K-931-2190

BRACKET

29

01011-51620

BOLT

30

01580-11613

NUT

31

21K-931-2210

BRACKET

32

203-70-33150

BUSHING

33

203-70-33210

SEAL,DUST

34

07020-00675

FITTING,GREASE

35

21K-70-23140

PIN

36

01011-51690

BOLT

37

01580-11613

NUT

Выбрано товаров: 38