/ / / / / / CAR ЛИНИЯ ОХЛАЖДЕНИЯ (/) (ДЛЯ УДЛИНН. РЫЧАГ УПРАВЛ-Е)
Запчасти Komatsu PC150-3 CAR ЛИНИЯ ОХЛАЖДЕНИЯ (/) (ДЛЯ УДЛИНН. РЫЧАГ УПРАВЛ-Е) ОПЦИОННЫЕ КОМПОНЕНТЫ
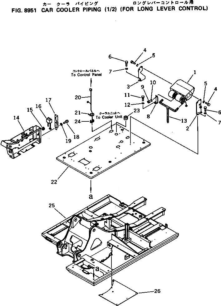
1
205-981-5110
COOLING UNIT
2
203-978-4211
PLATE,L.H.
3
203-978-4191
PLATE,R.H.
4
01010-50825
BOLT
5
01602-20825
WASHER,SPRING
6
01010-51225
BOLT
7
01643-31232
WASHER
8
203-978-4121
PLATE
9
01580-10806
NUT
10
01602-20825
WASHER,SPRING
11
01010-51225
BOLT
12
01643-31232
WASHER
13
203-978-4380
HOSE,DRAIN
14
21K-978-2180
BOX,R.H.
15
08037-03614
GROMMET
16
205-981-5150
PANEL ASS'Y
17
203-978-4271
BRACKET
18
01010-50812
BOLT
19
01643-30823
WASHER
20
203-978-4261
WIRE ASS'Y
21
08034-00519
BAND
22
21K-978-2170
FRAME,FLOOR
23
08037-03614
GROMMET
24
176-911-4160
GROMMET
25
21K-978-2190
FRAME,REVOLVING
26
21K-978-2110
COVER
Выбрано товаров: 0