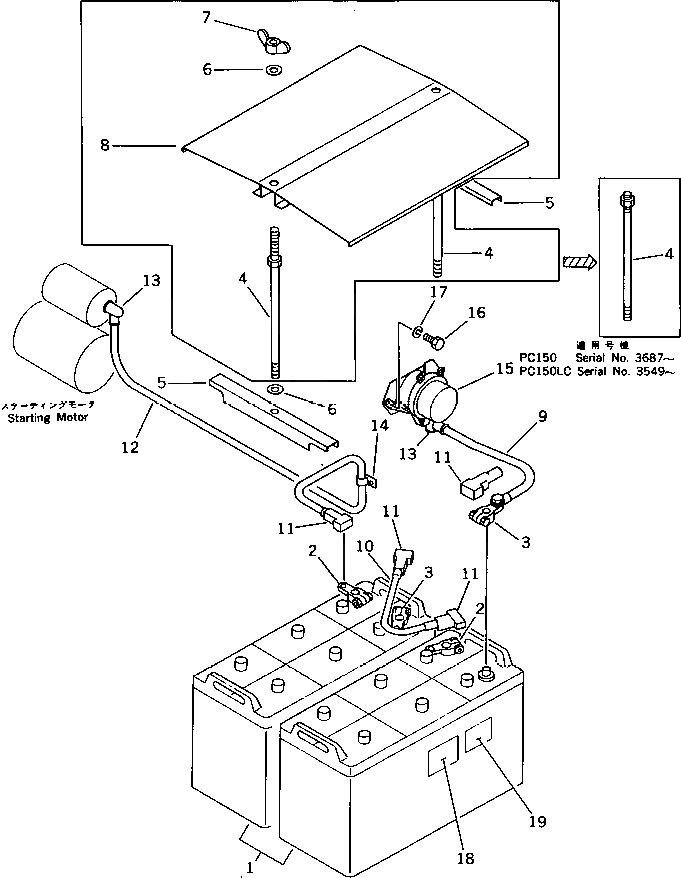
Запчасти Komatsu PC150-3 АККУМУЛЯТОР И РЕЛЕ (МОРОЗОУСТОЙЧИВ. СПЕЦИФИКАЦИЯ СПЕЦ-Я.) (КРОМЕ ЯПОН.) КОМПОНЕНТЫ ДВИГАТЕЛЯ И ЭЛЕКТРИКА

Схема запчастей Komatsu PC150-3 - АККУМУЛЯТОР И РЕЛЕ (МОРОЗОУСТОЙЧИВ. СПЕЦИФИКАЦИЯ СПЕЦ-Я.) (КРОМЕ ЯПОН.) КОМПОНЕНТЫ ДВИГАТЕЛЯ И ЭЛЕКТРИКА
FIT
1:1
100%

Артикул

Название

Примечание

Количество

1

08000-32215

BATTERY, WET

2

08000-00000

TERMINAL, (+)

3

08000-00001

TERMINAL, (-)

4

203-06-41950

BOLT

4

203-09-31120

BOLT

5

203-06-31222

CLAMP

6

01643-31232

WASHER

6

01643-31232

WASHER

7

01541-21260

NUT,WING

8

203-06-31212

COVER

9

08028-12045

CABLE

10

08028-12015

CABLE

11

08038-22009

CAP,TERMINAL

12

21K-06-21170

WIRE

13

08038-04030

CAP

14

08036-11214

CLIP

15

08088-10000

SWITCH,BATTERY RELAY

16

01010-50816

BOLT

17

01602-20825

WASHER,SPRING

18

09664-30081

PLATE, SAFETY,BATTERY

19

09664-30068

PLATE, SAFETY,BATTERY

Выбрано товаров: 0