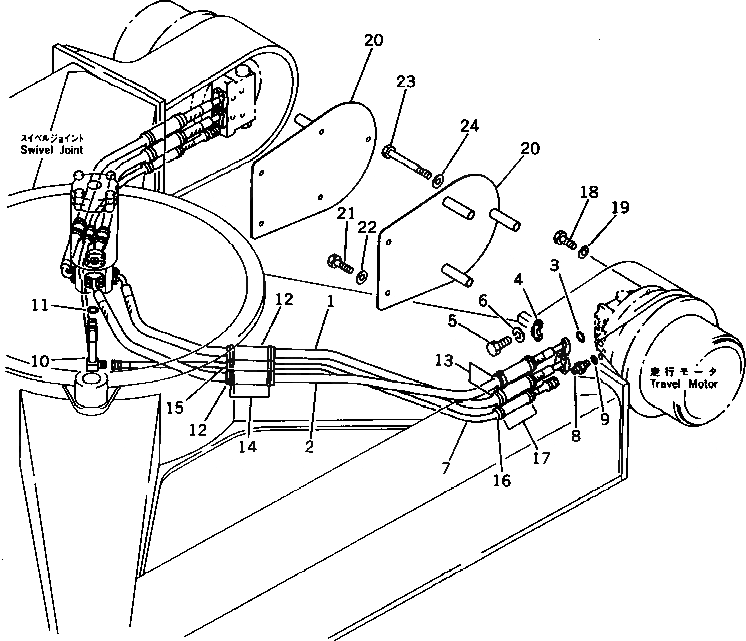
Запчасти Komatsu PC150-3 ГИДРОЛИНИЯ (ПОВОРОТНОЕ СОЕДИНЕНИЕ TO/FROM МОТОР ХОДА) ХОД И КОНЕЧНАЯ ПЕРЕДАЧА

Схема запчастей Komatsu PC150-3 - ГИДРОЛИНИЯ (ПОВОРОТНОЕ СОЕДИНЕНИЕ TO/FROM МОТОР ХОДА) ХОД И КОНЕЧНАЯ ПЕРЕДАЧА
FIT
1:1
100%

Артикул

Название

Примечание

Количество

1

07097-00619

HOSE

2

07098-00620

HOSE

3

07000-13025

O-RING

4

07371-30638

FLANGE,SPLIT

5

01010-50830

BOLT

6

01643-50823

WASHER

7

07102-20318

HOSE

8

07230-10315

UNION

9

07002-02034

O-RING

10

203-62-41141

ELBOW

11

07002-02034

O-RING

12

203-62-41150

COVER

13

21K-62-23120

COVER

14

08034-00823

BAND

15

203-62-41160

COVER

16

21K-62-23130

COVER

17

08034-00519

BAND

18

01010-51655

BOLT

19

01643-31645

WASHER

20

21K-62-23110

COVER

21

01010-51225

BOLT

22

01643-31232

WASHER

23

01011-51665

BOLT

24

01643-31645

WASHER

Выбрано товаров: 24