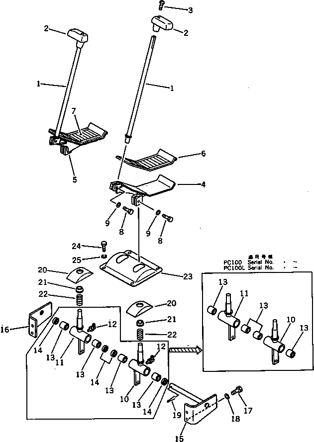
Запчасти Komatsu PC150-3 РЫЧАГ УПРАВЛ-Я ХОДОМ И ПЕДАЛЬ (ДЛЯ УДЛИНН. РЫЧАГ УПРАВЛ-Е) ПОВОРОТН. И СИСТЕМА УПРАВЛЕНИЯ

Схема запчастей Komatsu PC150-3 - РЫЧАГ УПРАВЛ-Я ХОДОМ И ПЕДАЛЬ (ДЛЯ УДЛИНН. РЫЧАГ УПРАВЛ-Е) ПОВОРОТН. И СИСТЕМА УПРАВЛЕНИЯ
FIT
1:1
100%

Артикул

Название

Примечание

Количество

1

203-43-42274

LEVER

1

205-43-71871

LEVER

2

203-43-41340

KNOB

3

01225-40625

SCREW

4

203-43-41613

PEDAL,L.H.

4

203-43-41612

PEDAL,L.H.

5

203-43-41593

PEDAL,R.H.

5

203-43-41592

PEDAL,R.H.

6

205-43-71911

CAP,PEDAL, L.H.

7

205-43-71921

CAP,PEDAL, L.H.

8

01010-50825

BOLT

9

01643-30823

WASHER

10

203-43-42375

LEVER,L.H.

10

203-43-42374

LEVER,L.H.

10

203-43-42373

LEVER,L.H.

11

203-43-42673

LEVER,R.H.

11

203-43-42672

LEVER,R.H.

11

203-43-42671

LEVER,R.H.

12

07020-00900

FITTING,GREASE

13

195-61-34130

BEARING

13

06120-02016

BEARING

14

06122-02004

SEAL,BEARING

15

203-43-42721

SHAFT

16

203-43-42731

BRACKET

17

01010-51030

BOLT

18

01643-31032

WASHER

19

04050-13030

PIN,COTTER

20

20S-43-11230

COVER

21

203-43-41660

SPACER

22

09340-10310

SPRING

23

203-43-41542

COVER

23

203-43-41541

COVER

24

01010-50820

BOLT

25

01602-20825

WASHER,SPRING

Выбрано товаров: 34