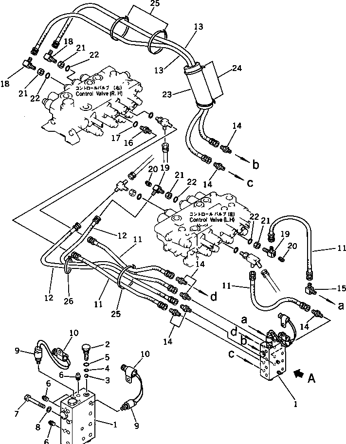
Запчасти Komatsu PC150-3 ГИДРОЛИНИЯ (КЛАПАН - РАСПРЕДЕЛИТ. КЛАПАН) (ДЛЯ WRIST УПРАВЛ-Е)(С ПОВОРОТН. МЕХАНИЧ. ТОРМОЗ.) ПОВОРОТН. И СИСТЕМА УПРАВЛЕНИЯ

Схема запчастей Komatsu PC150-3 - ГИДРОЛИНИЯ (КЛАПАН - РАСПРЕДЕЛИТ. КЛАПАН) (ДЛЯ WRIST УПРАВЛ-Е) (С ПОВОРОТН. МЕХАНИЧ. ТОРМОЗ.) ПОВОРОТН. И СИСТЕМА УПРАВЛЕНИЯ
FIT
1:1
100%

Артикул

Название

Примечание

Количество

|$0

203-62-44560

SHUTTLE VALVE ASS'Y

1

BLOCK

2

702-19-12120

PLUG

3

04260-00793

BALL

4

07000-01007

O-RING

5

07002-01423

O-RING

6

07042-10108

PLUG

7

01010-51065

BOLT

8

01643-31032

WASHER

9

203-06-41661

SWITCH,PRESSURE

9

203-06-41660

SWITCH,PRESSURE

10

08036-01814

CLIP

11

20G-62-15420

HOSE

12

20G-62-15410

HOSE

13

203-62-44610

HOSE

14

07238-00210

CONNECTOR

15

234-60-22140

ELBOW

16

07230-10210

UNION

17

07002-01423

O-RING

18

07232-20210

ELBOW

19

203-62-44791

ELBOW

20

07042-30108

PLUG

21

07239-11408

NUT

22

07002-01423

O-RING

23

203-04-31230

COVER

24

08034-00519

BAND

25

08034-00823

BAND

26

08034-00519

BAND

Выбрано товаров: 0