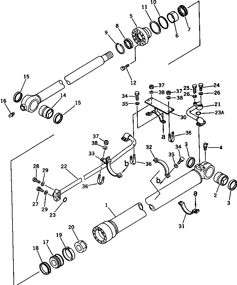
Запчасти Komatsu PC150-3 ЦИЛИНДР КОВША УПРАВЛ-Е РАБОЧИМ ОБОРУДОВАНИЕМ

Схема запчастей Komatsu PC150-3 - ЦИЛИНДР КОВША УПРАВЛ-Е РАБОЧИМ ОБОРУДОВАНИЕМ
FIT
1:1
100%

Артикул

Название

Примечание

Количество

|1

21K-63-76501

CYLINDER ASS'Y \,BUCKET

|1

21K-63-76500

CYLINDER ASS'Y \,BUCKET

1

21K-63-76540

CYLINDER

2

707-76-70040

BUSHING

3

07145-00070

SEAL,DUST

4

07020-00900

FITTING,GREASE

5

707-27-10270

HEAD,CYLINDER

6

07177-07030

BUSHING

7

707-51-70211

PACKING,ROD

8

144-63-95170

SEAL,DUST

9

07179-00093

RING,SNAP

10

07000-12095

O-RING

11

07146-02096

RING,BACK-UP

12

01010-81450

BOLT

13

21K-63-76520

ROD

14

707-76-70060

BUSHING

15

21K-70-12180

SEAL,DUST

16

07020-00000

FITTING,GREASE

17

707-36-10361

PISTON

|17

707-36-10360

PISTON

18

707-44-10080

RING,PISTON

19

07155-01025

RING,WEAR

20

07165-15252

NUT

21

21K-63-76581

TUBE

|21

21K-63-76580

TUBE

22

21K-63-76571

TUBE

|22

21K-63-76570

TUBE

23

07000-13025

O-RING

23A

07000-13030

O-RING

|23A

07000-13025

O-RING

24

01010-50845

BOLT

25

01010-50855

BOLT

26

01602-20825

WASHER,SPRING

27

01010-50840

BOLT

28

01010-50855

BOLT

29

01602-20825

WASHER,SPRING

30

707-88-99050

BRACKET

31

707-88-99020

BAND

32

707-88-99010

BAND

33

707-88-99070

BAND

34

01010-51035

BOLT

35

01602-21030

WASHER,SPRING

36

07283-22738

CLIP

37

01599-01011

NUT

38

01643-31032

WASHER

Выбрано товаров: 45