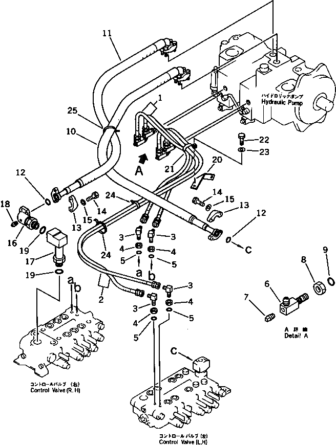
Запчасти Komatsu PC150-3 ГИДРОЛИНИЯ (НАСОС - БАК) УПРАВЛ-Е РАБОЧИМ ОБОРУДОВАНИЕМ

Схема запчастей Komatsu PC150-3 - ГИДРОЛИНИЯ (НАСОС - БАК) УПРАВЛ-Е РАБОЧИМ ОБОРУДОВАНИЕМ
FIT
1:1
100%

Артикул

Название

Примечание

Количество

1

203-62-42980

HOSE¤ 850MM

2

20G-62-15430

HOSE

3

07232-20210

ELBOW

4

07239-11408

NUT

5

07002-01423

O-RING

6

203-62-44750

ELBOW

7

07042-30108

PLUG

8

07239-11408

NUT

9

07002-01423

O-RING

10

07098-01011

HOSE

11

07098-01012

HOSE

12

07000-13032

O-RING

13

07371-31049

FLANGE,SPLIT

14

07372-21035

BOLT

15

01643-51032

WASHER

16

21K-62-21141

ELBOW

17

21K-62-21610

ELBOW

18

07042-30108

PLUG

19

07002-13334

O-RING

20

21K-62-21560

BRACKET

21

20D-03-11241

CLIP

22

01010-51020

BOLT

23

01643-31032

WASHER

24

08034-00519

BAND

25

08034-00823

BAND

Выбрано товаров: 25