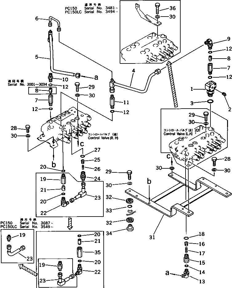
Запчасти Komatsu PC150-3 ГИДРОЛИНИЯ (КЛАПАН - КЛАПАН) УПРАВЛ-Е РАБОЧИМ ОБОРУДОВАНИЕМ

Схема запчастей Komatsu PC150-3 - ГИДРОЛИНИЯ (КЛАПАН - КЛАПАН) УПРАВЛ-Е РАБОЧИМ ОБОРУДОВАНИЕМ
FIT
1:1
100%

Артикул

Название

Примечание

Количество

1

21K-62-21120

ELBOW

2

07042-30108

PLUG

3

07002-13334

O-RING

4

21K-62-21430

TUBE

5

21K-62-21440

TUBE

6

203-62-42691

TUBE

7

203-62-42710

BODY

8

203-62-42720

VALVE

|8

203-62-42720

VALVE

9

07235-10422

ELBOW

10

07230-10422

UNION

11

203-62-42510

NIPPLE

12

07002-12034

O-RING

13

203-62-42751

ELBOW

14

07002-12034

O-RING

15

203-62-42731

NIPPLE

16

203-62-42741

VALVE

17

203-62-44811

SPRING

18

07002-13034

O-RING

19

21K-62-21850

UNION

|19

203-62-43830

NIPPLE

|19

203-62-42710

BODY

20

07002-12034

O-RING

|20

07002-12034

O-RING

21

203-62-42720

VALVE

22

07235-10315

ELBOW

23

203-62-44163

TUBE

|23

203-62-44161

TUBE

|23

21K-62-21730

TUBE

24

203-62-43840

NIPPLE

|24

203-62-44174

NIPPLE

25

203-62-42741

VALVE

26

203-62-44811

SPRING

27

07002-13034

O-RING

28

01010-51225

BOLT

|28

01010-51225

BOLT

29

01010-51235

BOLT

30

01643-31232

WASHER

31

21K-62-21490

BRACKET

32

203-62-42770

CUSHION

33

07000-03025

O-RING

34

203-62-42780

COLLAR

35

203-62-43850

BODY

36

01010-51230

BOLT

Выбрано товаров: 44