Запчасти Komatsu PC150-3 КОВШ¤ .M¤ 9MM (ВЕРТИКАЛЬН. ПАЛЕЦ) РАБОЧЕЕ ОБОРУДОВАНИЕ

Схема запчастей Komatsu PC150-3 - КОВШ¤ .M¤ 9MM (ВЕРТИКАЛЬН. ПАЛЕЦ) РАБОЧЕЕ ОБОРУДОВАНИЕ
FIT
1:1
100%

Артикул

Название

Примечание

Количество

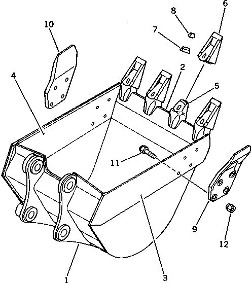
|1

21K-926-0020

BUCKET ASS'Y

1

21K-926-2110

BUCKET

2

21K-926-2120

PLATE (WELDED)

3

21K-70-24140

PLATE,L.H. (WELDED)

4

21K-70-24130

PLATE,R.H. (WELDED)

5

205-70-74261

ADAPTER (WELDED)

6

205-70-74271

TOOTH

7

205-70-74280

PIN

8

205-70-74290

LOCK

9

203-70-43260

CUTTER,L.H.

10

203-70-43270

CUTTER,R.H.

11

01802-02262

BOLT

12

01803-02228

NUT

Выбрано товаров: 13