Запчасти Komatsu PC150-3 АККУМУЛЯТОР И РЕЛЕ КОМПОНЕНТЫ ДВИГАТЕЛЯ И ЭЛЕКТРИКА

Схема запчастей Komatsu PC150-3 - АККУМУЛЯТОР И РЕЛЕ КОМПОНЕНТЫ ДВИГАТЕЛЯ И ЭЛЕКТРИКА
FIT
1:1
100%

Артикул

Название

Примечание

Количество

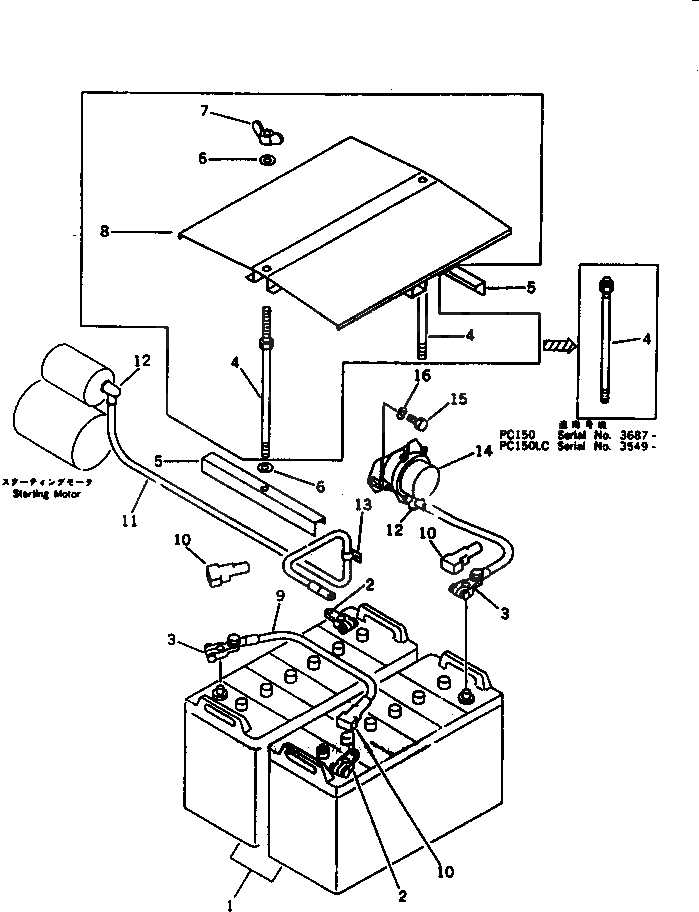
1

08000-32212

BATTERY (115E41R)

2

08000-00000

TERMINAL¤ (+)

3

08000-00001

TERMINAL¤ (-)

4

20D-06-41230

BOLT

|4

203-06-41640

BOLT

5

203-06-41651

CLAMP

6

01643-31232

WASHER

|6

01643-31232

WASHER

7

01541-21260

NUT,WING

8

203-06-41630

COVER

9

08028-12045

CABLE

10

08038-22009

CAP,TERMINAL

11

21K-06-21170

WIRE

12

08038-04030

CAP

13

08036-11214

CLIP

14

08088-10000

SWITCH,BATTERY RELAY

15

01010-50816

BOLT

16

01602-20825

WASHER,SPRING

Выбрано товаров: 18