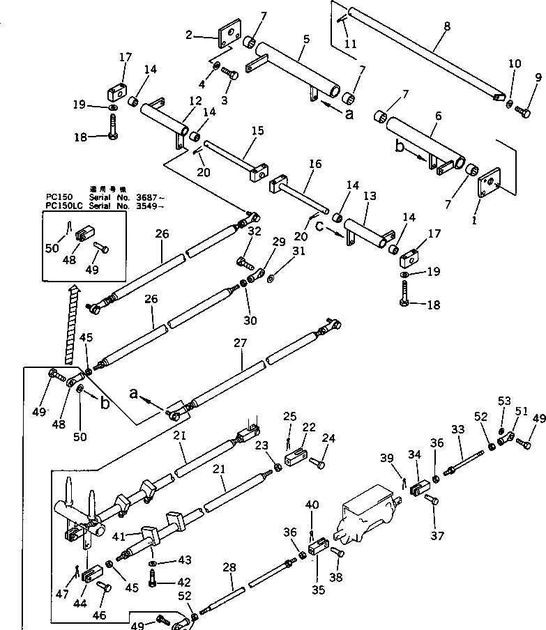
Запчасти Komatsu PC150-3 КЛАПАН МЕХ-М УПРАВЛ-Я (/) (ДЛЯ УДЛИНН. РЫЧАГ УПРАВЛ-Е)(№8-) ПОВОРОТН. И СИСТЕМА УПРАВЛЕНИЯ

Схема запчастей Komatsu PC150-3 - КЛАПАН МЕХ-М УПРАВЛ-Я (/) (ДЛЯ УДЛИНН. РЫЧАГ УПРАВЛ-Е)(№8-) ПОВОРОТН. И СИСТЕМА УПРАВЛЕНИЯ
FIT
1:1
100%

Артикул

Название

Примечание

Количество

1

203-43-42322

BRACKET

2

203-43-42680

BRACKET

3

01010-51230

BOLT

4

01643-31232

WASHER

5

203-43-42393

LEVER

|5

203-43-42392

LEVER

6

203-43-42642

LEVER

|6

203-43-42641

LEVER

7

205-43-73190

BEARING

8

203-43-42313

SHAFT

|8

203-43-42312

SHAFT

9

01010-50820

BOLT

10

01602-20825

WASHER,SPRING

11

04050-13040

PIN,COTTER

12

203-43-42423

LEVER

|12

203-43-42422

LEVER

13

203-43-42632

LEVER

|13

203-43-42631

LEVER

14

195-61-34140

BEARING

15

203-43-42711

SHAFT

|15

203-43-42710

SHAFT

16

203-43-42691

SHAFT

|16

203-43-42690

SHAFT

17

203-43-41310

BLOCK

18

01010-51060

BOLT

19

01643-31032

WASHER

20

04050-13030

PIN,COTTER

21

21K-43-21150

ROD

22

04220-21040

YOKE,L.H. THREAD

23

01508-21006

NUT,L.H. THREAD

24

04205-11028

PIN

25

04050-13015

PIN,COTTER

26

21K-43-21160

ROD

27

21K-43-21140

ROD

28

203-43-42333

ROD

|28

203-43-42332

ROD

29

04250-91056

END,ROD¤ L.H. THREAD

30

01508-21006

NUT,L.H. THREAD

31

01643-31032

WASHER

|31

04254-01032

SPACER

32

01010-51030

BOLT

33

04248-31022

ROD

34

20T-43-22210

YOKE

35

201-43-21370

YOKE

36

01582-11008

NUT

37

04205-10822

PIN

38

04205-10622

PIN

39

04050-12012

PIN,COTTER

40

04050-11610

PIN,COTTER

41

203-43-42751

PLATE

|41

203-43-42750

PLATE

42

01010-50830

BOLT

|42

01010-51030

BOLT

43

01643-30823

WASHER

|43

01643-31032

WASHER

44

04210-21040

YOKE

45

01508-21006

NUT

|45

01582-11008

NUT

46

04205-11028

PIN

47

04050-13015

PIN,COTTER

48

04220-21040

YOKE

|48

04250-61056

END,ROD

49

04205-11028

PIN

|49

01010-51030

BOLT

50

04050-13015

PIN,COTTER

|50

04254-01032

SPACER

51

04250-91056

END,ROD¤ L.H. THREAD

|51

04250-91056

END,ROD¤ L.H. THREAD

52

01508-21006

NUT,L.H. THREAD

53

01643-31032

WASHER

|53

04254-01032

SPACER

Выбрано товаров: 71